
Gần đây chúng ta đã được chiêm ngưỡng concept thiết kế iPhone 8 với mặt kính cong vòm rất ấn tượng. Tưởng chừng như nó chỉ là một bản thiết kế “ngẫu hứng” tuy nhiên mới đây bằng sáng chế của Apple cho thấy nó có thể biến thành sự thật.
Xem thêm: iPhone 7 còn chưa ra, iPhone 8 đã rục rịch xuất hiện?
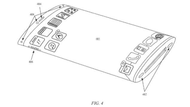
Theo đó, một bằng sáng chế của Apple vừa được chia sẻ trên gizmodo.com cho thấy một iPhone với mặt kính cong phủ tràn mặt trước, đặc biệt là các cạnh máy được uốn cong rất mạnh cả mặt trước và mặt sau.

Nhiều người nghĩ rằng “tại sao trên trái đất lại có một mẫu smartphone dị vậy”? Vâng, không gì là không thể và trí tưởng tượng của con người là vô tận, các nhà thiết kế của Apple sẽ còn tạo ra nhiều mẫu iPhone lạ lẫm nữa tuy nhiên nó chỉ mới là bản mẫu trên giấy tờ mà thôi.
Xem thêm: iPhone của năm 2017 sẽ là sự “lột xác” hoàn toàn, rất đáng mong đợi
Mình có vài thắc mắc đối với mẫu thiết kế này, nếu như iPhone có mặt kính cong tràn cạnh như vậy thì liệu khi cầm nắm thì nó có tiện lợi? Hay nó sẽ chạm vào những chi tiết không cần thiết và gây ra những phiền toái khi sử dụng?

Gần đây, các báo cáo cho rằng iPhone 8 mới là sự đổi mới toàn diện của Apple, biết đâu mẫu thiết kế này sẽ trở thành sự thật? Còn bạn, bạn nghĩ sao?
Xem thêm: iPhone 8 sẽ có màn hình OLED với 2 cạnh cong
Đóng góp bởi Hữu Tình



ĐĂNG NHẬP
Hãy đăng nhập để comment, theo dõi các hồ sơ cá nhân và sử dụng dịch vụ nâng cao khác trên trang Tin Công Nghệ của
Thế Giới Di Động
Tất cả thông tin người dùng được bảo mật theo quy định của pháp luật Việt Nam. Khi bạn đăng nhập, bạn đồng ý với Các điều khoản sử dụng và Thoả thuận về cung cấp và sử dụng Mạng Xã Hội.