Apple có thể trang bị cho iPhone tính năng “bóp cạnh cảm ứng” như HTC

Khi ra mắt U11 vào năm ngoái, HTC đã gọi tính năng “bóp cạnh” là Edge Sense, sau đó Google đã vay mượn tính năng này áp dụng trên Pixel 2 và đổi tên thành Active Edge. Edge Sense cho phép người dùng bóp mạnh vào phần khung viền cạnh máy để kích hoạt một số tính năng nhất định.
Mặc dù vậy, trên Google Pixel 2, Active Edge chỉ cho phép người dùng kích hoạt trợ lý Google Assistant hoặc để tắt tiếng smartphone. Nhưng Apple đang phát triển một công nghệ tương tự và nó thực sự hữu ích hơn nhiều.
Vâng, iPhone có thể sao chép Pixel để thay đổi nhưng đừng nhầm lẫn, đây không giống như cách mà Google sao chép iPhone.
Được phát hiện đầu tiên bởi Digital Trends, bằng sáng chế mới của Apple có số hiệu 20180164166, nó được gọi là “Mobile Electronic Device with Squeeze Detection” (Tạm dịch: Thiết bị di động với khả năng phát hiện bóp cạnh viền). Nó giải thích những gì mà Apple sẽ làm với công nghệ mới này.

Bắng sáng chế nêu trên được Tổ chức sở hữu trí tuệ Mỹ USPTO phát hành vào hôm thứ 5 (14/6) vừa qua, nhưng nó là sự tiếp nối những bằng sáng chế trước đó của Apple từ năm 2013 và 2016, được gọi là Enclosure Force Sensing Compliant. Vì vậy, đừng nhầm lẫn rằng Apple đang đánh cắp các ý tưởng từ HTC hay Google.
Tính năng “bóp cạnh” của Apple không chỉ để bật Siri mà nó còn thú vị hơn nhiều so với Google. Apple đang hướng tới một mẫu iPhone với màn hình tràn cạnh, không có nút bấm vật lý. Và những bắng sáng chế khác của Apple cũng mô tả hình ảnh điện thoại với màn hình phủ cả các cạnh viền. Ngoài ra, Apple cũng đang phát triển smartphone có thể gập lại.
Bằng sáng chế mới dường như là một nền tảng cho sự phát triển iPhone trong tương lai, vì nó sẽ giúp Apple loại bỏ các nút bấm vật lý, cải thiện thiết kế tổng thể.

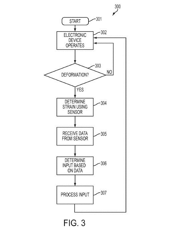
Bằng sáng chế này còn mô tả công nghệ cho phép Apple đặt các cảm biến ở các cạnh của điện thoại, nó cũng giống như 3D Touch, có thể phát hiện lực nhấn mà bạn nhấn vào cạnh của điện thoại. Sau đó, iPhone có thể kích hoạt các tính năng khác nhau dựa vào vị trí lực nhấn trên các cảm biến khác nhau.
“Thiết bị di động có thể bao gồm 1 hoặc nhiều đơn vị nhận và xử lý dữ liệu liên quan đến lực bóp của tay, sự biến dạng của các cảm biến để đưa ra các lệnh phản hồi tương ứng. Trong một số trường hợp, các đơn vị xử lý có thể phát hiện ra vị trí mà bàn tay bóp vào, so sánh với vị trí đã bóp trước đó để xác định chuyển động giữa 2 vị trí”, một đoạn mô tả trong bằng sáng chế.
Công nghệ của Apple được cho là tốt hơn so với Active Edge. Giả sử bạn có 1 chiếc iPhone với màn hình cong phủ cạnh, hoặc với 1 model iPhone uốn dẻo có thể gập lại. Các cạnh của nó có thể tích hợp các cảm biến như vậy bởi công nghệ của Apple có thể áp dụng trên cả cạnh kim loại lẫn nhựa cứng. Nó có ý nghĩa hơn bởi phần viền cạnh của điện thoại cũng có thể bao gồm các vật liệu khác nhau, các phần này có độ cứng khác nhau.
Thêm một điều thú vị khác đó là trước đây, Apple từng gặp vấn đề Bendgate – iPhone 6 Plus dễ bị bẻ cong ở những vị trí đặt các nút bấm vật lý. Và Apple có thể lắp các cảm biến “bóp cạnh” ở những vị trí như vậy.
Hơn nữa, còn có một công dụng khác mà không được đề cập trong bằng sáng chế đó là khả năng chống nước sẽ tăng lên với công nghệ này.
Cũng giống như những bằng sáng chế trước đây của Apple được tìm thấy trên USPTO, chúng ta không thể khẳng định được bằng sáng chế mới sẽ được áp dụng trên iPhone khi nào hoặc cũng có thể là không bao giờ được áp dụng.
Xem thêm: HTC không ngừng cải tiến để đưa những tính năng cực hữu ích vào cảm ứng cạnh viền Edge Sense
Nguồn bgr
ĐĂNG NHẬP
Hãy đăng nhập để comment, theo dõi các hồ sơ cá nhân và sử dụng dịch vụ nâng cao khác trên trang Tin Công Nghệ của
Thế Giới Di Động
Tất cả thông tin người dùng được bảo mật theo quy định của pháp luật Việt Nam. Khi bạn đăng nhập, bạn đồng ý với Các điều khoản sử dụng và Thoả thuận về cung cấp và sử dụng Mạng Xã Hội.