Apple sẽ ra mắt smartwatch mặt kính tròn?

Phải thừa nhận rằng những mặt đồng hồ có thiết kế tròn luôn có một sức hút đặc biệt, và bằng sáng chế mới từ Apple mới đây sẽ làm cho người hâm một thích thú.
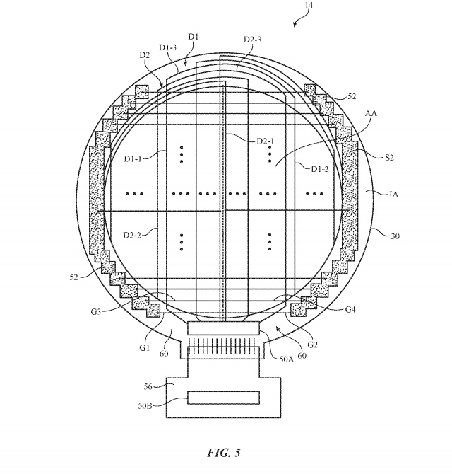
Theo đó Apple đã nhận được bằng sáng chế mới cho thấy một smartwatch với thiết kế mặt kính tròn truyền thống thay vì vuông vức như trên các thế hệ Apple Watch hiện tại.


Dựa vào bằng sáng chế có thể thấy cách sắp xếp các điểm ảnh trên màn hình hiển thị khác với Motorola Moto 360, điều này hứa hẹn sẽ giúp tiết kiệm không gian cho thiết bị.
Nếu bằng sáng chế này trở thành hiện thực thì nhiều khả năng sẽ khó có mặt trên Apple Watch năm sau, và chúng ta phải chờ đợi lâu hơn nữa, thông tin được phonearena đăng tải.
Xem thêm: Apple Watch vẫn dẫn đầu thị trường SmartWatch trong Quý III



ĐĂNG NHẬP
Hãy đăng nhập để comment, theo dõi các hồ sơ cá nhân và sử dụng dịch vụ nâng cao khác trên trang Tin Công Nghệ của
Thế Giới Di Động
Tất cả thông tin người dùng được bảo mật theo quy định của pháp luật Việt Nam. Khi bạn đăng nhập, bạn đồng ý với Các điều khoản sử dụng và Thoả thuận về cung cấp và sử dụng Mạng Xã Hội.