Apple nảy ra một ý tưởng mới giúp tai nghe iPhone trở nên tốt hơn
Dù chỉ là phụ kiện đi kèm khi mua iPhone, nhưng trước giờ những chiếc EarPods của Apple luôn được người dùng đánh giá cao và tận dụng triệt để. Ấy vậy mà Táo khuyết vẫn đang chăm chỉ phát triển thế hệ tiếp theo tốt hơn của loại tai nghe này!

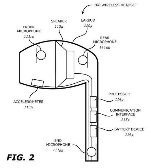
Vừa qua, một bằng sáng chế mới của Apple liên quan đến công nghệ làm tai nghe đã được đăng tải. Theo đó, ý tưởng này sẽ mang công nghệ loại bỏ tiếng ồn lên trên EarPods thế hệ mới giúp bạn nghe nhạc hay đàm thoại tốt hơn trong môi trường có nhiều tiếng ồn. Bên cạnh đó hãng còn áp dụng công nghệ truyền âm trong xương giúp đối tác của bạn nghe rõ tương tự như cách mà bạn tự nghe thấy giọng nói của chính mình.

Bằng sáng chế của Apple EarPods mới.
Cụ thể hơn, chiếc tai nghe sẽ được tích hợp một loại cảm biến gia tốc âm, nó sẽ có chức năng ghi nhận mọi rung động trong xương khi bạn nói chuyện. Từ đó, đảm bảo mọi thứ micro thu vào toàn là những âm thanh cần thiết. Ngoài ra, công nghệ này còn biết cách đẩy mọi tiếng ồn khác ra ngoài để chủ nhân của nó không phải chịu đựng tiếng ồn dù đối phương có đang sử dụng loại tai nghe tương tự hay không.
Tạm thời, đây chỉ là một trong những bằng sáng chế trên giấy được Táo khuyết đệ trình mỗi năm. Chắc chắn công nghệ này sẽ không thể xuất hiện trong tai nghe của iPhone ra mắt sắp tới nhưng hy vọng là chúng sẽ được đưa vào sản xuất vào một ngày gần nhất. Và theo nhiều dự đoán, thì loại tai nghe này rất có thể được Apple bán riêng như cách mà họ đã từng làm trên EarPods In-Ear trước đây.
Nguồn: Tech Insider
Các fan của Apple và iPhone 6S có thể tham gia vào Facebook Group "Hội người dùng iPhone 6S và iPhone" (click vào đường link) để tham gia thảo luận tự do và cập nhật những thông tin, thủ thuật, đánh giá mới nhất về iPhone 6S nhé!
ĐĂNG NHẬP
Hãy đăng nhập để comment, theo dõi các hồ sơ cá nhân và sử dụng dịch vụ nâng cao khác trên trang Tin Công Nghệ của
Thế Giới Di Động
Tất cả thông tin người dùng được bảo mật theo quy định của pháp luật Việt Nam. Khi bạn đăng nhập, bạn đồng ý với Các điều khoản sử dụng và Thoả thuận về cung cấp và sử dụng Mạng Xã Hội.