Bằng sáng chế mới của Apple cho thấy bàn phím MacBook trong tương lai sẽ 'biến hóa khôn lường', nâng cao tính tiện dụng

Được phát hiện bởi Patently Apple, bằng sáng chế mới có tên "Chuột phím có thể triển khai (Deployable Key Mouse)" đã được nộp cho USPTO. Đây là một giải pháp khá tiện dụng và có thể mở đầu cho công cuộc đổi mới ngôn ngữ thiết kế laptop trong tương lai.
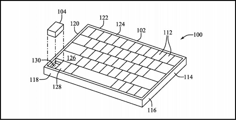
Theo đó, bàn phím MacBook mới sẽ có một phím có thể tháo rời, phím này sau khi tách ra có thể hoạt động như một con trỏ chuột. Apple tuyên bố rằng con trỏ này rất "thoải mái, linh hoạt và chính xác" khi sử dụng.

Ưu điểm của giải pháp này là tính tiện dụng, bạn sẽ không cần phải mang chuột theo khi ra ngoài, khi muốn dùng chuột chỉ cần tách "Deployable Key Mouse" ra và dùng. Tuy nhiên khi làm những công việc chuyên sâu thì chuột truyền thống vẫn tốt hơn.
Bằng sáng chế mô tả cách hoạt động của giải pháp này rất đa dạng, nó có thể tách ra bằng cách trượt cơ học theo chiều ngang hoặc chiều dọc, người dùng cũng có thể tách 1 phím hay nhiều phím.

Apple nộp rất nhiều bằng sáng chế và đây chỉ là một trong số chúng, sẽ còn rất lâu để giải pháp này có thể áp dụng vào thực tế. Dù sao đây cũng là một ý tưởng hay, cũng chờ đợi nhé.
Bạn đánh giá thế nào về bằng sáng chế này của Apple? Nó có khả thi để sản xuất đại trà không?
Nguồn: Wccftech
Xem thêm: Sẽ có MacBook Pro, Mac Mini, Mac Pro chạy chip Apple vào năm 2022



ĐĂNG NHẬP
Hãy đăng nhập để comment, theo dõi các hồ sơ cá nhân và sử dụng dịch vụ nâng cao khác trên trang Tin Công Nghệ của
Thế Giới Di Động
Tất cả thông tin người dùng được bảo mật theo quy định của pháp luật Việt Nam. Khi bạn đăng nhập, bạn đồng ý với Các điều khoản sử dụng và Thoả thuận về cung cấp và sử dụng Mạng Xã Hội.