
Một bằng sáng chế mới của LG đã tiết lộ rằng hãng đang có ý định sản xuất tai nghe thực tế ảo (VR) với tính năng vô cùng đặc biệt, đó là tháo rời. Đây có thể là bước đi dài của LG nhằm tiếp cận và đánh chiếm thị phần thực tế ảo đầy tiềm năng này.
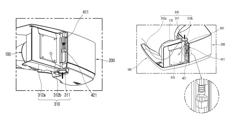
Cụ thể, tổ chức Sở hữu Trí tuệ Thế giới vừa ghi nhận bằng sáng chế của LG với nhiều hình ảnh phác thảo quá trình hoạt động của tai nghe thực tế ảo VR mới đang được phát triển. Với khả năng tách rời màn hình khi đeo vào sẽ giúp người dùng thuận tiện hơn trong quá trình tương tác và sử dụng.

Ý tưởng này từng được công ty Nonobject giới thiệu, nhưng thay vì sử dụng tách rời bằng nam châm cho cảm giác lỏng lẻo khi sử dụng. LG đã áp dụng nhiều công nghệ thông minh giúp 2 mặt kính tách rời có thể liên kết chặt chẽ lại với nhau trong quá trình sử dụng.

Hệ thống này sẽ bao gồm trục lò so với thiết kế đặc biệt giúp ôm sát đầu người dùng, ngoài ra thao tác tách rời cũng trở nên đơn giản và dễ sử dụng hơn.

Công nghệ thực tế ảo đang bước vào giai đoạn nước rút, và các hãng phần cứng đang cố gắng tạo nên điều khác biệt để chiếm lĩnh thị trường. Thật quá sớm để nói rằng LG sẽ áp dụng bằng sáng chế này lên thế hệ tai nghe SteamVR tiếp theo của hãng.
Nguồn: roadtovr
Xem thêm:
- VR & AR - ngành công nghiệp trăm tỷ USD, ngon hơn cả smartphone
- Sẽ có 11 smartphone được tích hợp nền tảng Daydream VR vào cuối năm nay



ĐĂNG NHẬP
Hãy đăng nhập để comment, theo dõi các hồ sơ cá nhân và sử dụng dịch vụ nâng cao khác trên trang Tin Công Nghệ của
Thế Giới Di Động
Tất cả thông tin người dùng được bảo mật theo quy định của pháp luật Việt Nam. Khi bạn đăng nhập, bạn đồng ý với Các điều khoản sử dụng và Thoả thuận về cung cấp và sử dụng Mạng Xã Hội.