Camera đặt dưới màn hình, cách hữu hiệu để bỏ đi vùng notch gây tranh cãi

Có thể bạn chưa biết: Essential PH-1 là smartphone đầu tiên được khoét sâu vào màn hình để có chỗ cho camera mặt trước nhằm giảm tối đa viền cạnh màn hình. Và sau này, giới smartphone đã quyết định đi theo phong cách thiết kế của Essential, mà thiết bị tiên phong là iPhone X.
Được biết, từ năm 2016, Essential đã có một bằng sáng chế về smartphone tương tự Essential PH-1. Tuy nhiên ý tưởng về một smartphone với màn hình bị khoét lõm vào dành chỗ cho camera trước không phải là ý tưởng duy nhất.
Gần đây, bằng sáng chế về một smartphone với camera thu gọn ở viền cạnh trên của Essential cũng đã được phát hiện. Và Vivo Apex chính là sản phẩm đã hiện thực hóa ý tưởng đó.
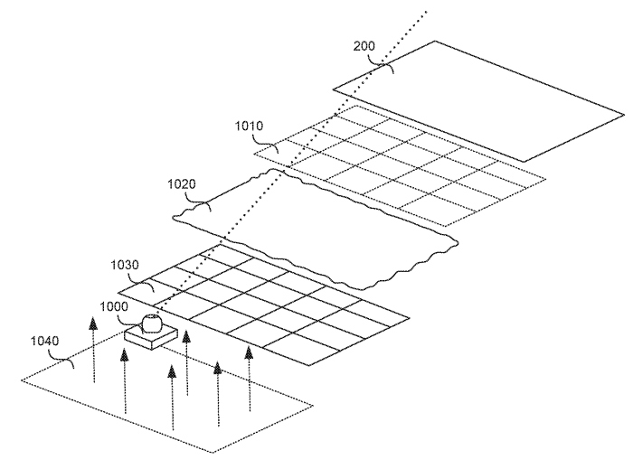
Đặc biệt hơn, đã có một số bằng sáng chế với ý tưởng camera tích hợp ngay bên trong màn hình. Nói cách khác, nhìn từ bên ngoài bạn sẽ không thấy camera trước bởi nó đã bị ẩn phía sau màn hình. Nó có thể thu lại hình ảnh khi chụp bằng cách thu thập ánh sáng xuyên qua màn hình smartphone.
Giải pháp này là cần thiết để xây dựng một smartphone không có viền cạnh màn hình và không có notch "tai thỏ". Tuy nhiên, để máy ảnh có thể chụp được xuyên qua màn hình thì vùng màn hình trước ống kính phải trong suốt, như vậy hứa hẹn sẽ mang lại một thiết kế smartphone mới khá thú vị, lạ lẫm.
Mặc dù đã đăng ký bằng sáng chế nhưng cũng không có nghĩa là Essential sẽ sớm mang smartphone như vậy ra thị trường. Tạm thời chúng ta chỉ biết rằng, hiện các công ty đang tìm cách xây dựng một smartphone có màn hình tràn cạnh, giảm viền cạnh màn hình một cách tối đa. Và camera ẩn bên trong màn hình có thể trở thành phương pháp hữu dụng trong tương lai.
Xem thêm: Apple sẽ loại bỏ "notch" trên iPhone 2019, theo báo cáo từ ETNews
Nguồn: Liliputing




ĐĂNG NHẬP
Hãy đăng nhập để comment, theo dõi các hồ sơ cá nhân và sử dụng dịch vụ nâng cao khác trên trang Tin Công Nghệ của
Thế Giới Di Động
Tất cả thông tin người dùng được bảo mật theo quy định của pháp luật Việt Nam. Khi bạn đăng nhập, bạn đồng ý với Các điều khoản sử dụng và Thoả thuận về cung cấp và sử dụng Mạng Xã Hội.