Đây có thể là bằng sáng chế phần bản lề dành cho Surface Phone

Bằng sáng chế mới nhất của Microsoft vừa được tiết lộ đã chỉ ra những gì mà chúng ta có thể mong đợi trên chiếc Surface Phone đã đồn đại từ lâu. Bằng sáng chế này còn mô tả một thiết bị với 2 màn hình có thể gập lại và mở ra để trở thành tablet.
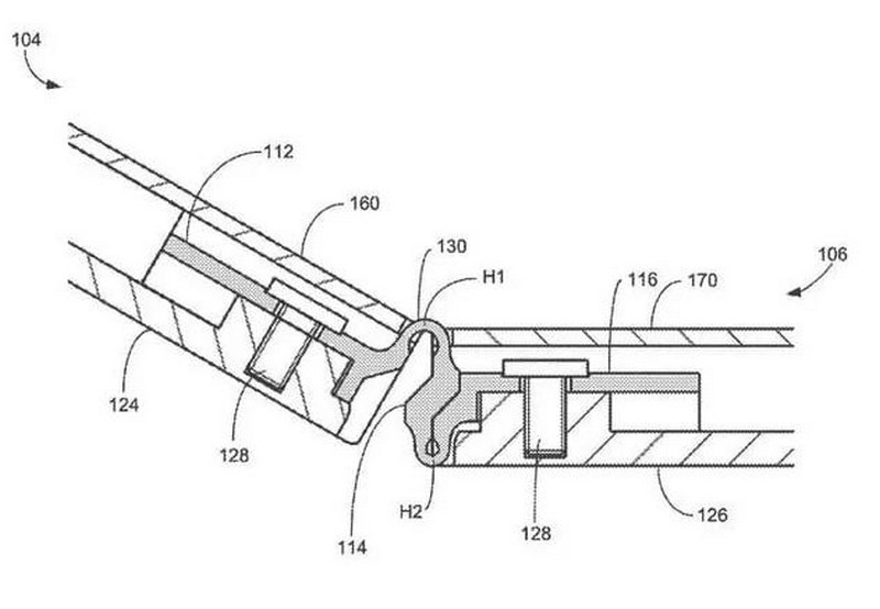
Theo Gizmochina, bằng sáng chế cũng cho thấy khi gập lại, nó có thể hoạt động như một smartphone với một màn hình duy nhất. Sơ đồ cho thấy phần màu xám là bản lề trực tiếp kết nối 2 màn hình với nhau.

Màn hình được đánh số 160 và 170, bản lề trực tiếp có thể điều chỉnh không bị giới hạn. Bản lề này sẽ đảm bảo kết nối của 2 màn hình và khớp nối rất tinh vi đến mức cho cảm giác như một màn hình liền mạch khi mở ra.

Microsoft mô tả nó như là một thiết bị “đa thành phần” khi nộp bằng sáng chế. Bản lề dường như cũng cho phép các chế độ sử dụng khác nhau, chế độ xoay vòng 360 độ, chế độ mở ra 180 độ để dùng như máy tính bảng. Chế độ thứ 3 là có thể đóng lại và dùng như một smartphone.
Việc nộp bằng sáng chế này cho thấy những hạn chế về kích thước của smartphone hiện tại, vì vậy mà những nhà sản xuất càng phải chế tạo ra những thiết bị mới đáp ứng được nhu cầu ngày càng cao của người dùng.
Xem thêm: Microsoft Trung Quốc vô tình hé lộ sự tồn tại của Surface Phone
ĐĂNG NHẬP
Hãy đăng nhập để comment, theo dõi các hồ sơ cá nhân và sử dụng dịch vụ nâng cao khác trên trang Tin Công Nghệ của
Thế Giới Di Động
Tất cả thông tin người dùng được bảo mật theo quy định của pháp luật Việt Nam. Khi bạn đăng nhập, bạn đồng ý với Các điều khoản sử dụng và Thoả thuận về cung cấp và sử dụng Mạng Xã Hội.