Google có bằng sáng chế smartphone màn hình gập như cuốn sách

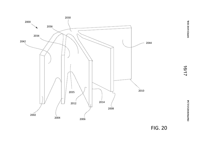
Một bằng sáng chế smartphone màn hình gập của Google vừa được Tổ chức Sở hữu Trí tuệ Thế giới công bố hồi hôm 27/6. Cơ chế mở và đóng của mẫu máy này giống như trên Galaxy Fold của Samsung nhưng sẽ có thêm màn hình phụ, nhìn trông giống như quyển sách lúc mở ra.
Dựa trên các bản vẽ trong bằng sáng chế, chiếc smartphone của Google sẽ ghép nối các màn hình chính và phụ lại với nhau, mỗi màn hình đóng vai trò như hai trang sách (trái và phải).

Dĩ nhiên các màn hình này sẽ là loại OLED linh hoạt (có thể uốn cong, gập,...) và khi bạn "lật trang", nội dung trên màn hình đang xem sẽ hiển thị ở màn hình tiếp theo.

Không rõ Google sẽ làm gì với bằng sáng chế trên và liệu hãng có tạo ra một thiết bị kỳ dị như thế trong tương lai? Nếu có thì máy sẽ trông rất dày khi gập lại.
Nguồn: Androidheadlines
Xem thêm: Google Pixel 4 sẽ được “độ” camera lên một đẳng cấp mới
ĐĂNG NHẬP
Hãy đăng nhập để comment, theo dõi các hồ sơ cá nhân và sử dụng dịch vụ nâng cao khác trên trang Tin Công Nghệ của
Thế Giới Di Động
Tất cả thông tin người dùng được bảo mật theo quy định của pháp luật Việt Nam. Khi bạn đăng nhập, bạn đồng ý với Các điều khoản sử dụng và Thoả thuận về cung cấp và sử dụng Mạng Xã Hội.