Google Glass sẽ có bàn phím ảo hiện trên bàn tay
Dự án có tên Google Glasssẽ chế tạo một máy tính nhỏ như cặp kính thời trang, đeo trên mắt của chúng tavà có thể ra lệnh bằng việc gật đầu, nháy mắt... Tương lai gần, chiếc máy tínhnày có thể được trang bị công nghệ bàn phím ảo.

Máy tính “tí hon” Google Glass
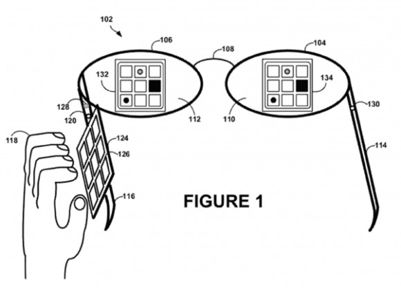
Bằng sáng chế mà chúng tađang nói đến lần đầu tiên đã được giới thiệu trong phiên bản Total Recall –điện thoại có bàn phím laser chiếu lên trên mặt bàn. Ở đây, trong dự án củaGoogle, bàn phím ảo có thể chiếu trên bàn tay và chúng ta có thể nhấn các núthiện lên trên bàn tay đó, thật tuyệt vời.

Có thể điều khiển bằng ánh mắt
Bằng sáng chế cũng bao gồmkhả năng làm việc trên cùng một hệ vật chất, có nghĩa là bàn phím laser chiếuhiển thị bàn phím trên bàn tay trái, bạn dùng bàn tay phải để có thể nhấn cácnút đó. Cũng trong tuần này, trang Unwired View đã chỉ ra một số sáng kiến khácđể nhằm kiểm soát tốt nhất cho cặp kính Google Glass.

Bàn phím hiển thị trên bàn tay
Một trong những sáng kiếnđó là bộ 6 bằng sáng chế cho hình dạng của Google Glass cũng như điều khiểnchuyển động Kinect dùng phím ảo trên bàn tay hoặc nhẫn đeo trên tay. Một sángkiến khác bao gồm tập hợp các nút điều khiển ở hai bên gọng kính nhờ công nghệảo, nó cũng hiện thị bàn phím trên mặt kính để người dùng nhận biết mình đangấn phím nào.

Bàn phím hiển thị trên mắt kính
Dự kiến trong tháng2/2013, các sản phẩm đầu tiên sẽ ra đời và chúng ta có thể thử nghiệm nó, cóthể là vào MWC 2013 (Đại hội thiết bị di động thế giới).
Hữu Tình
ĐĂNG NHẬP
Hãy đăng nhập để comment, theo dõi các hồ sơ cá nhân và sử dụng dịch vụ nâng cao khác trên trang Tin Công Nghệ của
Thế Giới Di Động
Tất cả thông tin người dùng được bảo mật theo quy định của pháp luật Việt Nam. Khi bạn đăng nhập, bạn đồng ý với Các điều khoản sử dụng và Thoả thuận về cung cấp và sử dụng Mạng Xã Hội.