Google phát triển dịch vụ cứu hộ bằng máy bay không người lái

Máy bay không người lái (drone) trong thời gian qua đã phát triển rất nhanh và được áp dụng vào rất nhiều lĩnh vực, từ vận chuyển, do thám, cung cấp vật liệu, phun thuốc trừ sâu… Hôm nay, Google đã đem nó tiến thêm một bước khi hãng này đang tập trung phát triển một dịch vụ cứu hộ bằng thiết bị này.
Xem thêm: Xiaomi âm thầm sản xuất máy bay không người lái
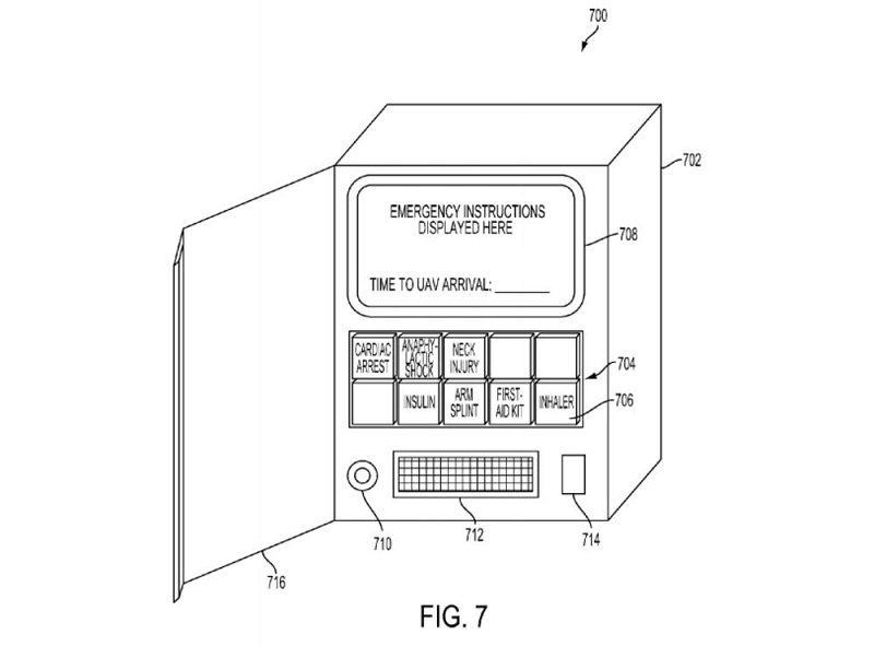
Theo thông tin mình cập nhật được, Google vừa qua đã được cấp bằng sáng chế cho dịch vụ cứu hộ khẩn cấp bằng máy bay không người lái. Về cơ bản, dịch vụ cứu hộ của Google làm việc theo một cách khá đơn giản: Bạn gởi yêu cầu cứu hộ khẩn cấp kèm thông tin cụ thể, một máy bay sau đó sẽ được triển khai đến nơi bạn đang ở kèm với các thiết bị cứu hộ cần thiết.

Xem thêm: Máy bay không người lái phát mạng 5G của Google đi vào thử nghiệm
Việc gởi yêu cầu cứu hộ có thể được thực hiện thông qua các cách khác nhau như điện thoại, mạng không dây, mạng di động hay bất cứ hình thức nào có thể liên lạc được. Sau đó một máy bay sẽ được gởi đi từ trạm điều hành mang theo các thiết bị cứu hộ ngay lập tức. Hành động nhanh này chắc chắn sẽ tiết kiệm được rất nhiều thời gian và có thể tạo nên nhiều ảnh hưởng giữa sự sống và cái chết. Tất nhiên, việc cứu hộ bằng máy bay không người lái này không thể nào thay thế được sự can thiệp của nhân viên y tế, nhưng nó có ưu điểm là dễ triển khai ở nhiều nơi và có thể tiếp cận các nạn nhân nhanh hơn, giúp họ có thể cầm cự đến khi đội cứu hộ thực sự đến.
Xem thêm: Intel xác lập một kỉ lục mới với 100 thiết bị bay drone
Theo ubergizmo.com


ĐĂNG NHẬP
Hãy đăng nhập để comment, theo dõi các hồ sơ cá nhân và sử dụng dịch vụ nâng cao khác trên trang Tin Công Nghệ của
Thế Giới Di Động
Tất cả thông tin người dùng được bảo mật theo quy định của pháp luật Việt Nam. Khi bạn đăng nhập, bạn đồng ý với Các điều khoản sử dụng và Thoả thuận về cung cấp và sử dụng Mạng Xã Hội.