iPhone thế hệ mới sẽ có camera không lồi

Trong vài năm qua, iPhone luôn bị chê là có camera lồi như một cái "bướu" và điều này khiến những va chạm, trầy xước không đáng có. Tuy nhiên có thể iPhone 7 sắp tới sẽ khác, một báo cáo từ Technobuffalo.com cho biết.
iPhone vẫn luôn bị chê trách là có camera lồi khiến mất đi vẻ đẹp, nhiều người cho rằng nếu như ống kính không bị lồi như vậy thì mọi thứ sẽ trở nên hoàn hảo hơn. Và tất nhiên, Apple đã có những dự tính của riêng mình.

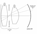
Báo cáo mới đây từ Technobuffalo.com đã cho biết, Apple đang tạo ra một hệ thống cảm biến máy ảnh, ống kính để có được độ phân giải cao nhưng sẽ gọn gàng hơn. Bằng chứng cho nhận định trên là những bức ảnh về bằng sáng chế mới của nhà Táo.
Trong bằng sáng chế, bạn có thể nhận ra là các cảm biến máy ảnh từ phẳng chuyển qua hình cầu, khoảng cách giữa các ống kính cũng đã giảm lại và hệ thống trở nên gọn hơn. Thông thường, nó sẽ ảnh hưởng tới chất lượng hình ảnh tuy nhiên Apple có thể khắc phục bằng cách thêm một thấu kính.
Xem thêm: iPhone 7 sẽ mỏng hơn rất nhiều, không còn jack tai nghe 3.5 mm
Nếu Apple đã làm được như vậy thì các iFan hẳn sẽ vui mừng bởi iPhone sắp tới có thể mỏng hơn và mặt sau không còn "một cái bướu" của ống kính máy ảnh nữa. Dẫu vậy đây chỉ mới là trong bằng sáng chế, còn thực tế có thể sẽ khác hoặc còn lâu nữa nó mới được áp dụng. Dù sao thì các iFan cũng có thể hi vọng "về một tương lai tươi sáng" hơn trên iPhone thế hệ mới.
Xem thêm:
- Ảnh chụp bằng iPhone tiếp tục chiếm đa số trên Flickr
- Camera iPhone đang được phát triển thêm những tính năng mới






ĐĂNG NHẬP
Hãy đăng nhập để comment, theo dõi các hồ sơ cá nhân và sử dụng dịch vụ nâng cao khác trên trang Tin Công Nghệ của
Thế Giới Di Động
Tất cả thông tin người dùng được bảo mật theo quy định của pháp luật Việt Nam. Khi bạn đăng nhập, bạn đồng ý với Các điều khoản sử dụng và Thoả thuận về cung cấp và sử dụng Mạng Xã Hội.