iPhone tương lai của Apple sẽ có hình thù "kỳ dị"

Apple được xem là một trong những nhà sản xuất smartphone "ít sáng tạo" nhất trong thiết kế sản phẩm, iPhone của hãng thường có xu hướng giữ nguyên thiết kế trong rất nhiều năm. Tuy nhiên những năm sau mọi thứ có thể sẽ khác.
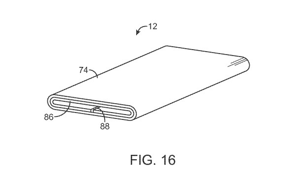
Hôm nay (22/1) trang công nghệ Technobuffalo.com vừa đăng tải thông tin cho thấy rất nhiều mẫu thiết kế thiết bị di động của Apple trên bằng sáng chế đã đạt chứng nhận. Nhiều trong số đó có thân hình "kỳ dị". Được biết, những bằng sáng chế này đã nộp từ tháng 9/2015 tuy nhiên đến hôm qua (21/1) thì nó mới chính thức được chứng nhận.

Trên hình ảnh các bạn có thể thấy rằng rất nhiều mẫu mã đã được nhà Táo sáng chế trong đó có thiết bị màn hình uốn cong 2 cạnh, màn hình gập 90 độ, màn hình uốn tròn hình trụ và thậm chí là có cả hình tam giác ba chiều.
Các thông tin gần đây cho biết Apple đang chuẩn bị chuyển qua sử dụng màn hình OLED uốn dẻo từ thế hệ iPhone 8 trở đi, phải chăng những bằng sáng chế này là để dành cho tương lai của năm 2018? Samsung được tin cũng đã đầu tư rất mạnh trong lĩnh vực sản xuất màn hình nhằm đủ cung ứng cho iPhone tương lai.
Xem thêm: Samsung sẽ là nhà cung cấp màn hình OLED hàng đầu cho iPhone
Mình vẫn chưa hiểu với màn hình cong hoặc hình trụ như vậy thì khi sử dụng sẽ như thế nào, các ngón tay chạm vào màn hình cảm ứng sẽ ra sao, những cơ chế nào để khóa các hành động không mong muốn đó...? Phải chờ rất lâu nữa thì mọi thứ mới rõ ràng, kiên nhẫn đợi thêm nhé các bạn.
Xem thêm:
- Màn hình OLED cho iPhone 7 được cả LG và Samsung cung cấp
- Màn hình iPhone 8 có khả năng khác hẳn các iPhone hiện tại






ĐĂNG NHẬP
Hãy đăng nhập để comment, theo dõi các hồ sơ cá nhân và sử dụng dịch vụ nâng cao khác trên trang Tin Công Nghệ của
Thế Giới Di Động
Tất cả thông tin người dùng được bảo mật theo quy định của pháp luật Việt Nam. Khi bạn đăng nhập, bạn đồng ý với Các điều khoản sử dụng và Thoả thuận về cung cấp và sử dụng Mạng Xã Hội.