Lộ bằng sáng chế tablet chạy Windows 10 của Microsoft có khả năng gập lại rất độc đáo!

Mới đây, hình ảnh về bằng sáng chế mẫu máy tính bảng của Microsoft có khả năng gập lại đã bị rò rỉ. Không biết liệu trong tương lai gã khổng lồ phần mềm có hiện thực hóa sản phẩm độc đáo này hay không.
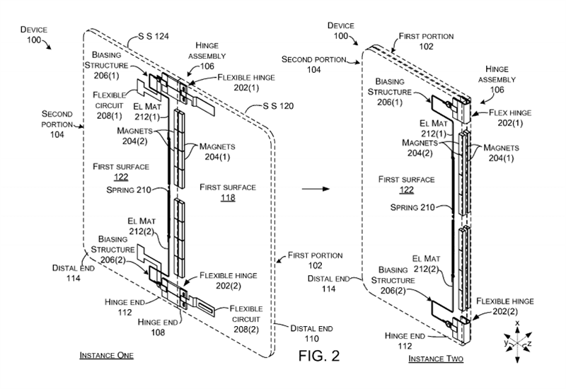
Như bản phác thảo cho thấy, khi gập lại thiết bị này có kích thước ngang ngửa với một chiếc phablet, như kiểu 2 cái phablet liên kết lại với nhau để tạo thành một mẫu máy tính bảng.
Trong khi đó, phần bản lề khá phức tạp cho phép máy tính bảng cung cấp giao diện ở 3 góc độ:
- 0 độ: Máy ở trạng thái đóng
- 180 độ: Máy trong trạng thái mở phẳng
- 360 độ: Máy hoàn toàn trong trạng thái mở.
Cụ thể hơn, khi ở góc 180 độ, màn hình bên trong sẽ hiển thị giao diện người dùng đơn lẻ. Trong các góc mở khác, mỗi màn hình sẽ hiển thị giao diện riêng của nó. Khi được mở ở góc độ 180 độ, việc sử dụng nam châm sẽ cho phép màn hình hiển thị liền mạch.

Xem thêm: Tablet âm thanh Dolby Atmos, hỗ trợ 4G giá rẻ nhất thị trường của Lenovo lên kệ TGDĐ
Theo: MSPoweruser




ĐĂNG NHẬP
Hãy đăng nhập để comment, theo dõi các hồ sơ cá nhân và sử dụng dịch vụ nâng cao khác trên trang Tin Công Nghệ của
Thế Giới Di Động
Tất cả thông tin người dùng được bảo mật theo quy định của pháp luật Việt Nam. Khi bạn đăng nhập, bạn đồng ý với Các điều khoản sử dụng và Thoả thuận về cung cấp và sử dụng Mạng Xã Hội.