Xuất hiện bằng sáng chế mới của Sony giúp đưa bất kỳ vật thể nào ngoài đời thật vào thực tế ảo VR chỉ trong nháy mắt

Thiết bị hoạt động như một chiếc máy quét 3D có thể đưa các vật thể ngoài đời thật vào thực tế ảo VR không phải là điều mới mẻ. Trên thực tế, thiết bị này vẫn còn đang trong giai đoạn phát triển, chúng ta hãy cùng nhau tìm hiểu nhé.

Cụ thể, theo một báo cáo của GameRant, thiết bị ban đầu được đệ trình lên văn phòng bằng sáng chế vào tháng 6/2021. Tuy nhiên, Sony đã phải điều chỉnh lại một số chi tiết do có xung đột với các bằng sáng chế khác.
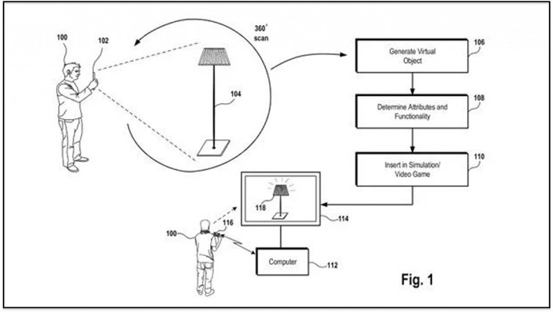
Về mặt kỹ thuật, người dùng có thể quét các vật thể ngoài đời thật sau đó thiết bị sẽ chuyển đổi sang vật thể trong thế giới thực tế ảo VR. Cho đến thời điểm hiện tại, chưa có bất kỳ thông tin chính thức nào đến từ Sony.

Vì vậy, chúng ta chỉ có thể phỏng đoán rằng thiết bị này có thể sẽ giúp cho người dùng hoặc các nhà phát triển dễ dàng tạo ra các vật phẩm trong metaverse (vũ trụ ảo), game VR (trò chơi thực tế ảo),...
Quay lại thời điểm trước đây, Sony cũng đã từng tích hợp máy quét 3D lên trên smartphone, điển hình là chiếc Xperia XZ1 ra mắt vào năm 2017. Thời điểm đó, người dùng có thể sử dụng công nghệ này để quét khuôn mặt mình hoặc thậm chí là thức ăn và sau đó in ra làm các đồ vật kỷ niệm.
Nếu bạn quan tâm tới các dòng smartphone chạy hệ điều hành Android như Sony, hãy ghé ngay Thế Giới Di Động để tham khảo các mẫu smartphone Android giá tốt đi kèm nhiều đãi cực hấp dẫn bạn nhé!
MUA NGAY SMARTPHONE ANDROID GIÁ TỐT TẠI ĐÂY
Nguồn: GSMArena
Xem thêm:
- Sony ra mắt TV QD-OLED 4K đầu tiên trên thế giới: Sự nâng cấp ấn tượng
- Sony Xperia Pro II 5G có gì mới: Dùng Snapdragon 895, cảm biến 1 inch
- Sony Ericsson W200 2022 có gì mới: Giá 2 triệu, chuyên dùng nghe nhạc


ĐĂNG NHẬP
Hãy đăng nhập để comment, theo dõi các hồ sơ cá nhân và sử dụng dịch vụ nâng cao khác trên trang Tin Công Nghệ của
Thế Giới Di Động
Tất cả thông tin người dùng được bảo mật theo quy định của pháp luật Việt Nam. Khi bạn đăng nhập, bạn đồng ý với Các điều khoản sử dụng và Thoả thuận về cung cấp và sử dụng Mạng Xã Hội.