Những tính năng không tưởng được kỳ vọng trên iPhone 9

Hãy thử nghĩ xa thêm một chút, tức là đến năm 2018, 2019 hay thậm chí là 2020 chẳng hạn, iPhone 9 của Apple sẽ trông ra sao và có gì chúng ta cần mong đợi?
iPhone 8 mặc dù vẫn chưa ra mắt nhưng nhiều tin đồn xung quanh nó đã khiến chúng ta phần nào hình dung được tổng quan sẽ có những đặc điểm nào. Nhưng hãy thử nghĩ xa thêm một chút, tức là đến năm 2018, 2019 hay thậm chí là 2020 chẳng hạn, iPhone 9 của Apple sẽ trông ra sao và có gì chúng ta cần mong đợi? Hãy cùng điểm qua một số đặc điểm có thể góp mặt trên siêu phẩm này hoặc trên các smartphone đầu bảng khác trong tương lai.
1. Sạc pin nhờ cơ chế chuyển động

Sử dụng động năng thành điện năng đã từng được áp dụng ở một số lĩnh vực, thậm chí Apple cũng từng nghĩ đến việc dùng công nghệ này để ứng dụng cho Apple Watch của họ. Được biết, công nghệ này sẽ dùng chính chuyển động của người dùng để tạo nên điện năng và sạc pin cho thiết bị.
Hiện tại trên thị trường cũng đã xuất hiện một loại thiết bị có công nghệ tương tự được đeo trên cánh tay, sau đó tận dụng các chuyển động giơ tay lên xuống trong ngày của người dùng để sinh ra điện năng sạc pin cho điện thoại. Tuy nhiên cách làm này vẫn chưa khả thi bởi với khoảng 5.000 bước chân, thiết bị này chỉ đủ nạp cho điện thoại thêm được 1 giờ sử dụng.
Tất nhiên đây chỉ là bước khởi đầu và chắc chắn sẽ được phát triển mạnh hơn trong tương lai. Biết đâu đến khi iPhone 9 ra đời, chúng ta chỉ việc di chuyển hoặc đi bộ hàng ngày cũng có thể giúp máy đầy pin mà không cần đến pin sạc dự phòng nữa.
2. Sử dụng năng lượng Mặt Trời
Trong tương lai, chỉ việc ngồi ngoài trời và sử dụng điện thoại thế này cũng có thể nạp được pin cơ đấy.
Việc sử dụng năng lượng Mặt Trời để cung cấp điện năng cho các thiết bị đã xuất hiện từ nhiều năm nay, vì vậy ứng dụng nó vào smartphone chỉ còn là vấn đề thời gian. Một công ty có tên Sunpartner Technologies từng phát triển một loại ốp lưng siêu nhẹ có khả năng hấp thụ được ánh sáng để chuyển hóa thành điện năng. Bên cạnh ánh sáng tự nhiên, ốp lưng này còn có khả năng hấp thu được cả ánh sáng nhân tạo trong nhà và từ đó có thể nạp thêm 10 đến 15% pin cho smartphone.
Apple cũng từng cam kết họ sẽ quan tâm đến vấn đề môi trường hơn, chính vì thế trong tương lai cũng sẽ đi đến phương án sử dụng năng lượng Mặt Trời để tiết kiệm các nguồn tài nguyên khác. Cũng trong năm 2015, Táo Khuyết từng nộp bằng sáng chế công nghệ sạc mới, theo đó tích hợp các tấm pin năng lượng Mặt Trời ngay dưới lớp kính màn hình để giúp thiết bị có thể sạc pin mà không cần đến nguồn điện truyền thống nữa.
3. Màn hình sapphire

Màn hình iPhone đang ngày càng bền cứng hơn so với các phiên bản trước nhờ sử dụng tấm kính cường lực của Gorilla Glass, tuy nhiên sau vài lần vô tình làm rơi thì chắc chắn màn hình cũng sẽ vỡ.
Với hiện trạng này, Apple buộc phải sử dụng vật liệu khác tốt hơn và ứng cử viên sáng giá nhất có thể là sapphire. Được biết, vật liệu này đã từng được Nhà Táo sử dụng cho màn hình của Apple Watch và rất nhiều khả năng cũng sẽ được trang bị trên các bản iPhone tương lai.
4. Có khả năng... tàng hình
Trang Yanko Design trước đây từng đưa ra một mẫu concept khá táo bạo về chiếc smartphone trong tương lai. Theo đó, chiếc điện thoại này sẽ được đeo vào tai trông như tai nghe Bluetooth, nhưng điểm đặc biệt là nó sẽ biến đổi màu sắc của thân máy sao cho giống hệt với màu da người dùng. Từ đó biến nó trở thành một thiết bị vô hình như trong các phim khoa học viễn tưởng vậy.
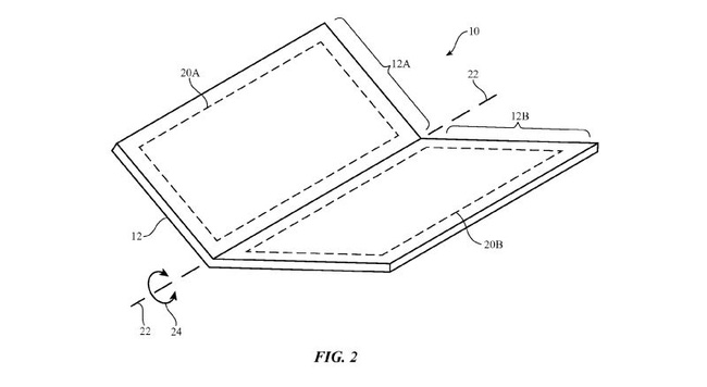
5. Có thể bẻ cong được

Mới đây, Apple đã nộp thành công bằng sáng chế điện thoại có khả năng bẻ cong, điều này khiến nhiều người cho rằng iPhone sắp tới cũng sẽ có khả năng này. Thử nghĩ mà xem, với kích thước màn hình của iPhone sẽ càng lúc càng to ra, việc cho phép bẻ cong hoặc gập lại sẽ là một lợi thế rất lớn. Bởi người dùng sau khi thao tác xong có thể bẻ gập lại và bỏ vào túi quần một cách dễ dàng hơn mà không sợ bị cấn.
6. Khả năng tự động đẩy nước ra khỏi máy
iPhone 7 năm nay đã có khả năng chống nước, nhưng chỉ ở mức độ vừa phải và vẫn có khả năng bị vô nước nếu để máy ngâm quá lâu trong nước hoặc "lặn" ở độ sâu vượt quá mức cho phép. Để khắc phục được tình trạng này, Apple đã tạo ra một cơ chế mới giúp máy có khả năng tự đẩy nước ra bên ngoài thông qua khe loa. Tính năng này đã được áp dụng trên Apple Watch thế hệ mới và nhiều khả năng cũng sẽ được trang bị cho cả iPhone trong tương lai.

Tính năng đẩy nước ra ngoài của Apple Watch Series 2.
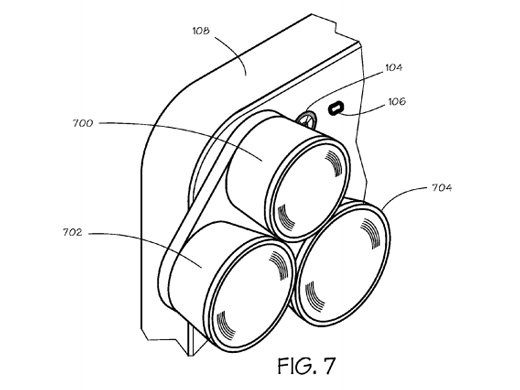
7. Camera có thể thay được ống kính

Camera kép hiện đang là trào lưu trong năm nay và cả năm sau, nhưng biết đâu trong 2 năm tới nó sẽ lại lỗi thời và một hình thức camera mới lại được sinh ra. Vào tháng 1/2014, Apple từng nộp 2 bằng sáng chế liên quan đến việc sử dụng mô-đun camera trên iPhone và iPad. Theo nội dung này, iPhone và iPad trong tương lai sẽ có mô-đun đính kèm 3 loại ống kính khác nhau, ứng theo tiêu cự thường, mắt cá và góc rộng.
Trên đây là 7 đặc điểm đang được mong chờ sẽ xuất hiện trên iPhone 9, còn bạn thì sao? Hãy chia sẻ cảm nghĩ của mình cùng với chúng tôi nhé.
Theo TTT
Xem thêm: iPhone 8 mà đẹp thế này chắc iFan sẽ đổ xô đi mua
ĐĂNG NHẬP
Hãy đăng nhập để comment, theo dõi các hồ sơ cá nhân và sử dụng dịch vụ nâng cao khác trên trang Tin Công Nghệ của
Thế Giới Di Động
Tất cả thông tin người dùng được bảo mật theo quy định của pháp luật Việt Nam. Khi bạn đăng nhập, bạn đồng ý với Các điều khoản sử dụng và Thoả thuận về cung cấp và sử dụng Mạng Xã Hội.