OPPO đang phát triển smartphone màn hình gập dọc có thể cố định ở nhiều góc, đi kèm 3 camera sau, tuy nhiên lại thiếu...

Ở thời điểm hiện tại, nếu muốn sở hữu một chiếc smartphone với màn hình gập dọc thì người dùng chỉ có hai sự lựa chọn là Samsung Galaxy Z Flip và Motorola Razr. Trước đây, cũng có nhiều nhà sản xuất được cấp bằng sáng chế với thiết kế tương tự. Trong diễn biến mới nhất, bằng sáng chế smartphone với màn hình gập dọc của OPPO đã xuất hiện trên các trang mạng.
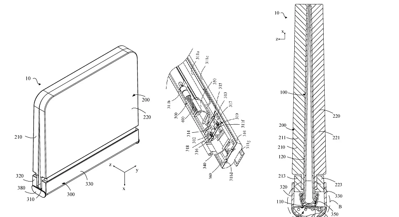
Bằng sáng chế này đã được công ty Trung Quốc nộp lên Tổ chức Sở hữu Trí tuệ Thế giới (WIPO) và được công bố vào ngày 3/9. Theo tài liệu, smartphone màn hình gập của OPPO sử dụng bản lề xoay với các bánh răng cho phép điện thoại có thể cố định ở bốn góc khác nhau.

Cùng với đó, hình ảnh từ bằng sáng chế còn cho thấy thiết bị không có màn hình ngoài. Điều này có nghĩa là khi máy ở trạng thái gập, người dùng sẽ không thể nhìn thấy ai gọi đến hoặc xem thông báo cho đến khi mở điện thoại ra. Đây là một điểm khác biệt so với các sản phẩm khác trên thị trường. Ngoài ra, máy sở hữu màn hình hiển thị dạng đục lỗ.

Mặc dù sơ đồ bằng sáng chế không tiết lộ số camera của máy nhưng hình ảnh cho thấy smartphone OPPO có 3 camera ở mặt sau, nhiều hơn so với Galaxy Z Flip và Motorola Razr. Hơn nữa, cách sắp xếp các cảm biến trên thiết bị này của OPPO cũng khá giống với Galaxy S10 Plus.

Tuy nhiên cần lưu ý rằng sở hữu bằng sáng chế không đồng nghĩa với việc OPPO sẽ ra mắt smartphone mới với thiết kế này. Cho đến thời điểm hiện tại, không có nguồn tin nào xác nhận nhà sản xuất đến từ Trung Quốc sẽ trình làng điện thoại màn hình gập vào năm tới. Chúng ta cùng chờ đón tin tức chính thức đến từ OPPO để biết rõ hơn nhé.
Bạn nghĩ smartphone màn hình gập dọc của OPPO sẽ có tên gọi là gì?
Nguồn: Gizmochina



ĐĂNG NHẬP
Hãy đăng nhập để comment, theo dõi các hồ sơ cá nhân và sử dụng dịch vụ nâng cao khác trên trang Tin Công Nghệ của
Thế Giới Di Động
Tất cả thông tin người dùng được bảo mật theo quy định của pháp luật Việt Nam. Khi bạn đăng nhập, bạn đồng ý với Các điều khoản sử dụng và Thoả thuận về cung cấp và sử dụng Mạng Xã Hội.