Rò rỉ một thiết bị di động của Nokia với khả năng biến hình độc đáo
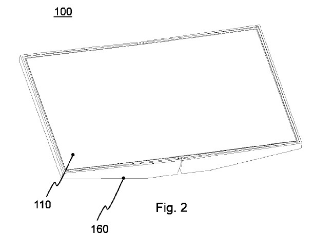
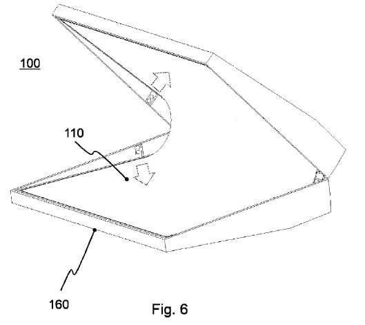
Gần đây, một bằng sáng chế của Nokia lại xuất hiện với một thiết bị có khả năng biến hình nhờ vào việc màn hình uốn cong.
Những năm gần đây, Nokia vẫn đang nghiên cứu nhiều thiết bị di động có thể uốn cong, gập lại. Trước đó, trong năm 2014 Nokia cũng đã trình thử nghiệm một màn hình OLED có thể gập lại. Màn hình do Nokia nghiên cứu có khả năng gập lại khoảng 100.000 lần mà không bị nứt vỡ. Ngoài ra, các báo cáo còn cho biết hãng cũng đang nghiên cứu về pin với tính năng tương tự.

Bằng sáng chế của Nokia
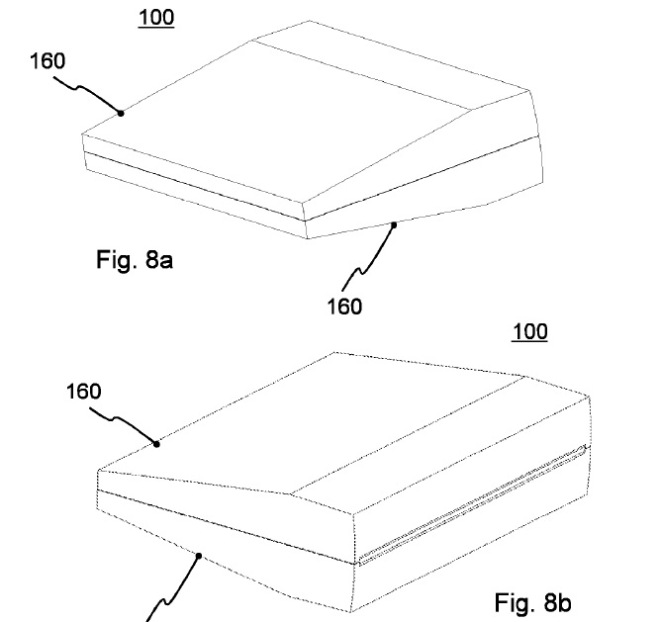
Gần đây, họ cũng đã được cấp một bằng sáng chế với thiết bị điện tử có thể gập lại, tuy nhiên chỉ có màn hình là có thể được gập lại. Các bộ phận và linh kiện khác thì được thiết kế nằm ở bên dưới màn hình và chia đều cho hai bên (có một rãnh chia ở giữa). Nhờ vậy, khi gập lại, chỉ duy nhất màn hình được gập còn các bộ phận khác vẫn bình thường.

Dự kiến, nếu bằng sáng chế này thành hiện thực, các smartphone, máy tính bảng hoặc các thiết bị di động khác có thể ứng dụng công nghệ này nhằm giúp thiết kế của chúng trở nên gọn gàng hơn và dễ dàng bỏ túi hơn.

Thegioididong (theo Nokiapoweruser)



ĐĂNG NHẬP
Hãy đăng nhập để comment, theo dõi các hồ sơ cá nhân và sử dụng dịch vụ nâng cao khác trên trang Tin Công Nghệ của
Thế Giới Di Động
Tất cả thông tin người dùng được bảo mật theo quy định của pháp luật Việt Nam. Khi bạn đăng nhập, bạn đồng ý với Các điều khoản sử dụng và Thoả thuận về cung cấp và sử dụng Mạng Xã Hội.