Samsung được cấp bằng sáng chế cho giải pháp màn hình LCD cong

Nhiều năm qua, Samsung đã sử dụng màn hình cong cho nhiều thiết bị của mình, bao gồm: Máy theo dõi thể dục, smartphone, TV, màn hình, v.v. Tất cả đều dựa trên công nghệ màn hình OLED (Organic Light-Emting Diode). Bây giờ có vẻ như đại gia công nghệ xứ Hàn đã tìm ra cách sản xuất màn hình cong dựa trên công nghệ LCD (Liquid Crystal Display).
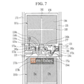
Theo đó, Samsung vừa được cấp bằng sáng chế cho một màn hình tinh thể lỏng dạng cong từ Văn phòng Sáng chế và Nhãn hiệu Hoa Kỳ (USPTO).
Samsung đã nộp bằng sáng chế cho công nghệ màn hình tinh thể cong vào tháng 11 năm ngoái và phải đến ngày 20/12/2018, bằng sáng chế này mới được cấp phép.
Đáng chú ý, màn hình LCD trước nay thường có mặt sau bằng kính, không cho phép chúng cong. Nhưng việc sử dụng nhựa ở cả hai bên của lớp LCD không chỉ cho phép màn hình linh hoạt hơn mà còn có thể ngăn chúng bị nứt khi rơi.
Hiện tại không có thông tin thiết bị nào trong tương lai sẽ được trang bị công nghệ màn hình LCD cong, nhưng hy vọng mảng smartphone của hãng sẽ được ứng dụng.
Nguồn: 91mobiles
Xem thêm: Samsung đang chế tạo 2 smartphone hỗ trợ mạng 5G






ĐĂNG NHẬP
Hãy đăng nhập để comment, theo dõi các hồ sơ cá nhân và sử dụng dịch vụ nâng cao khác trên trang Tin Công Nghệ của
Thế Giới Di Động
Tất cả thông tin người dùng được bảo mật theo quy định của pháp luật Việt Nam. Khi bạn đăng nhập, bạn đồng ý với Các điều khoản sử dụng và Thoả thuận về cung cấp và sử dụng Mạng Xã Hội.