Samsung có thể sẽ hợp nhất Galaxy Fold và Galaxy Note lại làm một

Tính đến thời điểm hiện tại, Samsung không chỉ có hai dòng sản phẩm cao cấp là Galaxy Note và Galaxy S, mà con số này đã tăng thành 3 sau khi hãng giới thiệu chiếc Galaxy Fold, là chiếc điện thoại màn hình gập đầu tiên vào đầu năm nay.
Trong khi các thế hệ đầu của hai dòng Galaxy S và Galaxy Note đều có kích thước màn hình khác nhau đáng kể, nhưng các thiết bị mới ra mắt gần đây lại không có quá nhiều khác biệt.

Cụ thể, Galaxy S10 có màn hình 6.1 inch, trong khi Galaxy Note 10 có màn hình 6.3 inch, không chênh lệch quá nhiều về kích cỡ màn hình, mặc dù chúng thuộc hai dòng sản phẩm khác nhau. Điểm khác biệt lớn nhất chính là cây bút S-Pen, thứ mà chỉ có trên các mẫu điện thoại Galaxy Note.
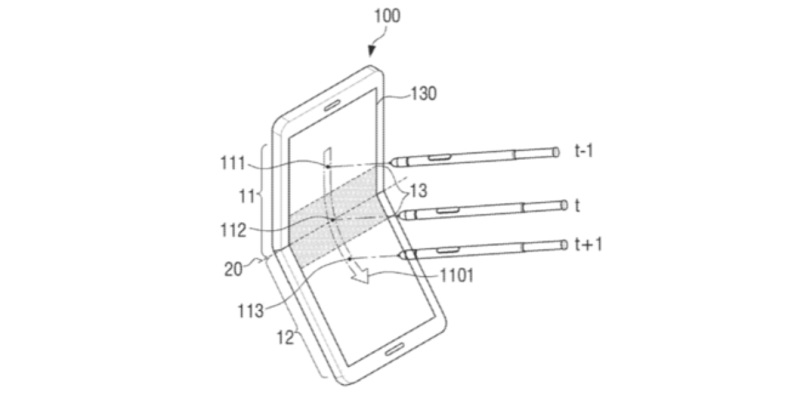
Báo cáo mới nhất cũng nói rằng, Samsung vừa được cấp một bằng sáng chế mới về một mẫu smartphone màn hình gập, tuy nhiên nó không giống như Galaxy Fold, chiếc điện thoại mới này lại hỗ trợ bút S-Pen và cử chỉ trên không trung (Air Gestures).

Vì vậy, theo các phân tích ở trên, bao gồm sự khác biệt quá ít qua giữa Galaxy Note và Galaxy S, cùng với bằng sáng chế mới cho thấy Galaxy Fold sẽ hỗ trợ bút S-Pen, thì khả năng cao Samsung sẽ hợp nhất hai dòng sản phẩm Galaxy Fold và Galaxy Note lại làm một.
Về mẫu smartphone màn hình gập trong bằng sáng chế, chiếc điện thoại này có thiết kế vỏ sò giống như Galaxy Fold. Nhưng Samsung sẽ không hướng tới việc tạo ra một chiếc smartphone lai máy tính bảng, thay vào đó, chiếc máy này sẽ tương tự như chiếc Moto Razr mà Motorola sẽ ra mắt vào cuối năm nay.

Ngoài ra, chiếc điện thoại màn hình gập tiếp theo của Samsung sẽ có thể mở ra với góc nghiêng 270 độ, trong khi Galaxy Fold bị chỉ có thể mở ra tối đa 180 độ.
Một điều đặc biệt nữa là thay vì sử dụng ngón tay hoặc bút cảm ứng để di chuyển các biểu tượng hay ứng dụng từ nửa màn hình này sang nửa màn hình kia, thì người dùng chỉ cần thao tác cử chỉ trên không trung mà không cần chạm vào màn hình.
Nếu Samsung hợp nhất hai dòng Galaxy Fold và Galaxy Note thì bạn cảm thấy như thế nào? Hãy chia sẻ bằng cách bình luận phía bên dưới nhé.
Nguồn: Gizmochina
Xem thêm: Samsung vừa được cấp bằng sáng chế về phương thức xác thực bảo mật mới

ĐĂNG NHẬP
Hãy đăng nhập để comment, theo dõi các hồ sơ cá nhân và sử dụng dịch vụ nâng cao khác trên trang Tin Công Nghệ của
Thế Giới Di Động
Tất cả thông tin người dùng được bảo mật theo quy định của pháp luật Việt Nam. Khi bạn đăng nhập, bạn đồng ý với Các điều khoản sử dụng và Thoả thuận về cung cấp và sử dụng Mạng Xã Hội.