Samsung dường như đang phát triển một chiếc đồng hồ thông minh Galaxy Watch chạy bằng năng lượng mặt trời

Samsung đang xem xét việc sử dụng năng lượng mặt trời để cung cấp năng lượng cho các mẫu đồng hồ thông minh Galaxy của mình. Hay cụ thể hơn, Samsung đã đưa ra ý tưởng tích hợp pin mặt trời vào dây đeo của Galaxy Watch từ vài năm nay.
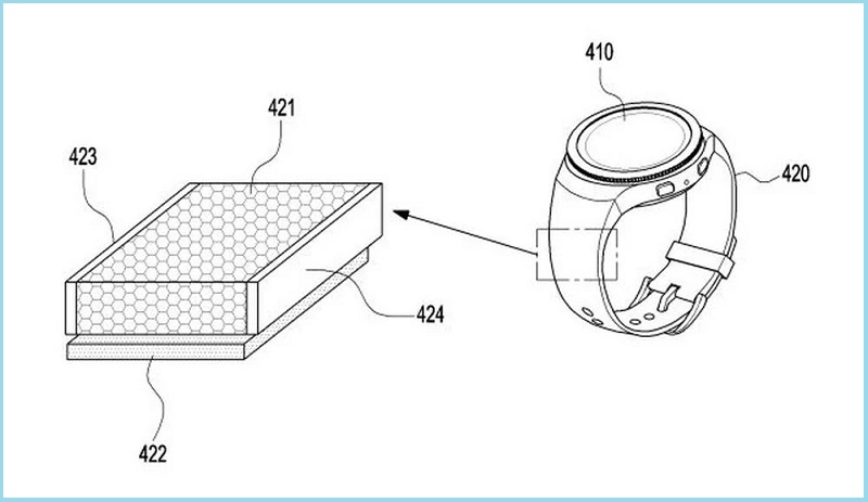
Theo đó, một đơn xin cấp bằng sáng chế mà Samsung nộp vào năm 2019 đã được Văn phòng Sáng chế và Nhãn hiệu Hoa Kỳ (USPTO) công bố vào ngày 16/9, sau đó được LetsGoDigital phát hiện và chia sẻ. Bằng sáng chế nói về một chiếc đồng hồ Galaxy được trang bị dây đeo cổ tay tích hợp pin năng lượng mặt trời. Tuy nhiên, bằng sáng chế không đi sâu vào chi tiết, cách mà pin năng lượng mặt trời hoạt động.

Có lẽ ý tưởng ở đây là cung cấp nguồn điện phụ thông qua các tấm pin mặt trời, trong khi nguồn điện chính dành cho Galaxy Watch vẫn thông qua cổng sạc. Đó là một ý tưởng tuyệt vời về lý thuyết, có thể làm cho thiết bị đeo của Samsung thân thiện hơn với môi trường và có khả năng cung cấp năng lượng cho thiết bị ngay cả khi người dùng không ở gần nguồn điện sạc.
Câu hỏi đặt ra là liệu Samsung có kế hoạch sản xuất Galaxy Watch 5 chạy bằng năng lượng mặt trời không? Còn quá sớm để có thể trả lời câu hỏi này, bởi dòng Galaxy Watch 4 chỉ mới được phát hành.
Hiện tại, Samsung không ngừng cố gắng cải thiện các chính sách thân thiện với môi trường của mình và gần đây công ty đã đạt được khả năng sử dụng 100% năng lượng tái tạo tại các nhà máy ở Mỹ, Châu Âu và Trung Quốc.
Về phía người tiêu dùng, Samsung đã sử dụng năng lượng mặt trời cho các điều khiển từ xa trên TV thông minh QLED mới nhất của mình vào đầu năm nay. Đây có thể là một dấu hiệu cho thấy hãng sẽ tiếp tục sử dụng pin năng lượng mặt trời cho những thiết bị khác trong tương lai và thiết bị đeo sẽ là ứng cử viên sáng giá cho điều này.
Bạn có muốn một chiếc Galaxy Watch chạy bằng pin năng lượng mặt trời không?
Nguồn: Sammobile
- Galaxy F42 5G lộ thêm thông số kỹ thuật: Dimensity 700, RAM 8GB,...
- Thiết kế Galaxy S22 lộ diện trong ảnh render, không có nhiều thay đổi



ĐĂNG NHẬP
Hãy đăng nhập để comment, theo dõi các hồ sơ cá nhân và sử dụng dịch vụ nâng cao khác trên trang Tin Công Nghệ của
Thế Giới Di Động
Tất cả thông tin người dùng được bảo mật theo quy định của pháp luật Việt Nam. Khi bạn đăng nhập, bạn đồng ý với Các điều khoản sử dụng và Thoả thuận về cung cấp và sử dụng Mạng Xã Hội.