Samsung Galaxy Z Fold5 sẽ được trang bị bản lề theo cơ chế mới

Sau khi dòng Galaxy S23 5G ra mắt, sự chú ý có lẽ đang được đổ sang thế hệ điện thoại màn hình gập tiếp theo của Samsung là Galaxy Z Fold5 và Galaxy Z Flip5. Theo rò rỉ, Galaxy Z Fold5 sẽ được trang bị bản lề mới.
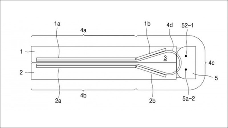
Cụ thể theo leaker Ice Universe, Samsung sẽ sử dụng bản lề kiểu giọt nước mới cho mẫu Galaxy Z Fold5. Một báo cáo từ trang Naver News của Hàn Quốc cũng đã tiết lộ thông tin tương tự.

Cơ chế bản lề gập “giọt nước” của Samsung Display sẽ cho phép màn hình gập của Galaxy Z Fold5 tạo thành hình giọt nước bên trong thân bản lề, điều này sẽ ngăn nếp nhăn xuất hiện ở giữa.
Motorola và OPPO cũng đã sử dụng các phương pháp tương tự trên các thiết bị màn hình gập để che đi nếp gấp. Ice Universe cũng chia sẻ rằng Z Fold5 sẽ chỉ dày 13.x mm ở trạng thái gập, đây là một bản nâng cấp lớn so với 15.8 mm của Z Fold4.
Ngừng kinh doanh
Xem đặc điểm nổi bật
- Chip Snapdragon 8 Gen 2 for Galaxy
- RAM: 12 GB
- Dung lượng: 256 GB
- Camera sau: Chính 50 MP & Phụ 12 MP, 10 MP
- Camera trước: 10 MP & 4 MP
- Pin 4400 mAh, Sạc 25 W
Bạn có đang mong chờ Galaxy Z Fold5 ra mắt không?
Tham khảo bộ đôi Galaxy Z Fold4 và Galaxy Z Flip4 đang được phân phối chính hãng tại Thế Giới Di Động với nhiều ưu đãi hấp dẫn.
Ngừng kinh doanh
Xem đặc điểm nổi bật
- Chip Snapdragon 8+ Gen 1
- RAM: 12 GB
- Dung lượng: 256 GB
- Camera sau: Chính 50 MP & Phụ 12 MP, 10 MP
- Camera trước: 10 MP & 4 MP
- Pin 4400 mAh, Sạc 25 W
Không kinh doanh
Xem đặc điểm nổi bật
- Chip Snapdragon 8+ Gen 1
- RAM: 8 GB
- Dung lượng: 128 GB
- Camera sau: 2 camera 12 MP
- Camera trước: 10 MP
- Pin 3700 mAh, Sạc 25 W
Nguồn: GSMArena
Xem thêm:
- Galaxy Z Fold5 và Galaxy Z Flip5 có công nghệ lưu trữ tốc độ cao nhất
- Rò rỉ về cải tiến được mong chờ nhất trên Samsung Galaxy Z Flip5


ĐĂNG NHẬP
Hãy đăng nhập để comment, theo dõi các hồ sơ cá nhân và sử dụng dịch vụ nâng cao khác trên trang Tin Công Nghệ của
Thế Giới Di Động
Tất cả thông tin người dùng được bảo mật theo quy định của pháp luật Việt Nam. Khi bạn đăng nhập, bạn đồng ý với Các điều khoản sử dụng và Thoả thuận về cung cấp và sử dụng Mạng Xã Hội.