Surface Phone sẽ có máy quét vân tay ngay trên màn hình?

Đã khá lâu rồi chúng ta không có thông tin gì về smartphone Windows 10 Mobile tiếp theo của Microsoft, thật may khi hôm nay (18/9) một số tin tức mới đã rò rỉ.
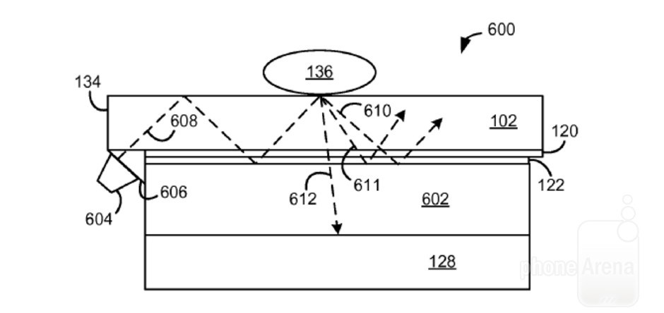
Theo đó một bằng sáng chế mới của Microsoft liên quan đến máy quét vân tay có thể sẽ xuất hiện trên Surface Phone. Hiện nay hầu hết các smartphone đều được đặt máy quét vân tay ở nút home hoặc ở bên cạnh camera chính của thiết bị, nhưng Microsoft đang tìm cách tiếp cận mới.

Cụ thể, theo bằng sáng chế của Microsoft gửi đến WIPO thì cảm biến vân tay sẽ được đặt trực tiếp lên màn hình LCD và OLED, điều này sẽ giúp tiết kiệm không gian giúp thiết bị mỏng hơn. Với hệ thống nhận diện đặt dưới mặt kính hiển thị, khi người dùng đặt ngón tay lên thì các cảm biến sẽ phát hiện dấu vân tay.
Microsoft có thể sẽ áp dụng bằng sáng chế mới này lên con át chủ bài Surface Phone của hãng, nhưng cũng có thể ý tưởng này sẽ chỉ tồn tại trên giấy tờ mà thôi. Các tin đồn trước đó cho hay Surface Phone sẽ mang nhiều thay đổi lớn như chip Snapdragon 830, dung lượng RAM dồi dào,...
Xem thêm:
- Surface Phone sẽ dùng chip Snapdragon 830, hướng tới doanh nghiệp
- Smartphone tiếp theo của Microsoft sẽ đổi mới và cao cấp


ĐĂNG NHẬP
Hãy đăng nhập để comment, theo dõi các hồ sơ cá nhân và sử dụng dịch vụ nâng cao khác trên trang Tin Công Nghệ của
Thế Giới Di Động
Tất cả thông tin người dùng được bảo mật theo quy định của pháp luật Việt Nam. Khi bạn đăng nhập, bạn đồng ý với Các điều khoản sử dụng và Thoả thuận về cung cấp và sử dụng Mạng Xã Hội.