Apple nhá hàng tai nghe iPhone đời mới, bạn thấy thích không?
Một trong những vấn đề nhỏ nhưng ảnh hưởng lớn đến người dùng iPhone là tai nghe của máy hay bị rơi ra khỏi tai khi họ chạy bộ hoặc di chuyển. Gần đây, Apple đã nghĩ ra cách giải quyết vấn đề đó, vì vậy họ cũng tạo ra bằng sáng chế cho cách này.
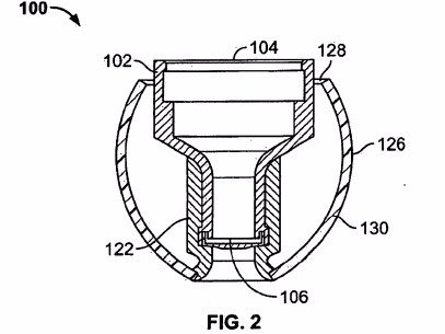
Apple đã đưa ra bằng sáng chế về tai nghe Earpod không rơi khi bạn đang tập thể dục. Mặc dù bằng này đã được họ hoàn thành vào năm ngoái nhưng bây giờ, nó mới chính thức được thông qua.



Tai nghe Earpod kiểu mới
Ý tưởng là Apple sẽ tạo ra một chiếc tai nghe với một phân đoạn bên ngoài uốn cong để phù hợp với tai của người dùng. Tất nhiên, thiết kế mới này không phải là cuộc cách mạng, nhưng nó chắc chắn là một bản nâng cấp từ các tai nghe Earpod cứng nhắc mà Apple đang bán kèm theo iPhone.

Tai nghe Earpod cũ
Thiết kế tai nghe Earpod của Apple hiện nay cũng đã gần bốn năm tuổi (kể từ khi nó ra mắt cùng iPhone 5) và có lẽ sắp tới là thời điểm thích hợp để họ thay đổi tai nghe này, có thể là nó sẽ được phát hành kèm theo cả iPhone 6s.
Thegioididong (Theo GSMDome)
ĐĂNG NHẬP
Hãy đăng nhập để comment, theo dõi các hồ sơ cá nhân và sử dụng dịch vụ nâng cao khác trên trang Tin Công Nghệ của
Thế Giới Di Động
Tất cả thông tin người dùng được bảo mật theo quy định của pháp luật Việt Nam. Khi bạn đăng nhập, bạn đồng ý với Các điều khoản sử dụng và Thoả thuận về cung cấp và sử dụng Mạng Xã Hội.