Tấm bảo vệ màn hình của iPad cũng sắp trở nên lợi hại hơn
Apple đã khá thành công khi bán ra một tấm bảo vệ thông minh (smart cover) cho iPad 2, nhưng mãi tới bây giờ, nhà táo mới bắt đầu nghĩ đến việc nâng cấp tấm bảo vệ màn hình đã bốn năm tuổi này.
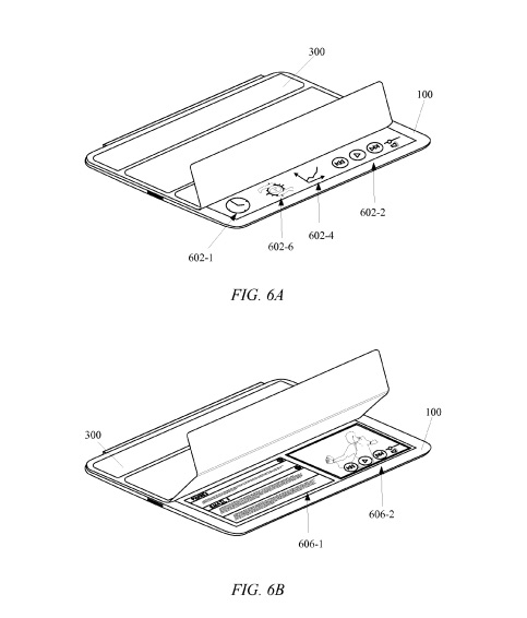
Một bằng sáng chế mới của Apple đã phác thảo tấm bảo vệ màn hình mới trên iPad trong tương lai. Bằng sáng chế này cho thấy tấm bảo vệ mới sẽ cho phép người dùng xem thông báo nhanh trên iPad nếu lật 1/4 bề mặt của nó lên. Tùy chỉnh ánh sáng và âm thanh nếu lật 2/4 bề mặt và có thể xem video nếu lật thêm một mặt che màn hình nữa.


Bằng sáng chế tấm bảo vệ thông minh mới của iPad
Chế độ này được hoạt động nhờ những nâng cấp phần mềm trên iPad và các tinh chỉnh cảm biến để cho phép thiết bị để nhận ra chính xác bao nhiêu phần màn hình được bao phủ và sau đó đáp ứng cho phù hợp.
Nhưng bằng sáng chế này đã được nộp vào năm 2013 và nó chỉ mới được công bố gần đây nên khả năng tấm bảo vệ màn hình thông minh này sẽ ra mắt trong năm nay còn khá thấp.

iPad 2 Smart Cover
Thegioididong (Theo Technobuffalo)


ĐĂNG NHẬP
Hãy đăng nhập để comment, theo dõi các hồ sơ cá nhân và sử dụng dịch vụ nâng cao khác trên trang Tin Công Nghệ của
Thế Giới Di Động
Tất cả thông tin người dùng được bảo mật theo quy định của pháp luật Việt Nam. Khi bạn đăng nhập, bạn đồng ý với Các điều khoản sử dụng và Thoả thuận về cung cấp và sử dụng Mạng Xã Hội.