Thêm bằng chứng quan trọng cho thấy iPhone 7 sẽ chống nước

iPhone 7 được đồn đại là sẽ được tích hợp tính năng chống thấm nước như một số smartphone đối thủ hiện nay. Và mới đây (28/11), một bằng chứng vừa bị phát hiện đã khẳng định thông tin trên là rất có cơ sở.

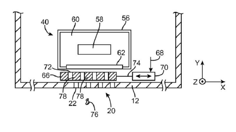
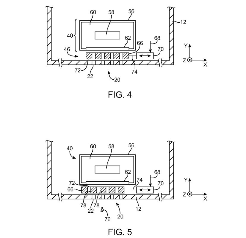
Theo đó, một bằng sáng chế của Apple vừa bị rò rỉ cho thấy smartphone của hãng sẽ được thiết kế với các cổng có nắp đậy để bịt kín và chống thấm nước vào bên trong. Đặc biệt hơn, sẽ có các cảm biến dể xác định mức độ ô nhiễm trong không khí sau đó các nắp đậy có thể tự động khép kín cho đến lúc nào nó cần phải mở ra.

Ví dụ một nắp đậy sẽ che kín loa lại nhưng khi có cuộc gọi đến, nghe nhạc... thì nó sẽ tự động mở ra. Bằng sáng chế này có tên gọi: 'Electronic Devices With Housing Port Shutters' (tạm dịch: Những thiết bị điện tử với các cổng đóng).

Trước đó vào tháng 3/2016, Apple cũng đã nhận bằng sáng chế về việc phủ vật liệu trở thành điện thoại chống nước lên các thành phần bên trong điện thoại. Như vậy, có vẻ như iPhone thế hệ tiếp theo sẽ được trang bị tính năng chống nước, chống bám bụi rất hữu ích cho người dùng. Bạn thấy tính năng này thế nào?


Nguồn: Phonearena
Xem thêm:
- iPhone 7 sẽ có RAM vượt mức 2GB và chống cả nước
- Bạn có muốn iPhone thế hệ tiếp theo sử dụng màn hình AMOLED?


ĐĂNG NHẬP
Hãy đăng nhập để comment, theo dõi các hồ sơ cá nhân và sử dụng dịch vụ nâng cao khác trên trang Tin Công Nghệ của
Thế Giới Di Động
Tất cả thông tin người dùng được bảo mật theo quy định của pháp luật Việt Nam. Khi bạn đăng nhập, bạn đồng ý với Các điều khoản sử dụng và Thoả thuận về cung cấp và sử dụng Mạng Xã Hội.