iFan sẽ thích mê khi 6 tính năng tuyệt vời này có trên iPhone 7
https://www.thegioididong.com/dtdd/iphone-6s-plus-32gb![]()
iPhone 6s/6s Plus vừa mới chỉ ra mắt được một tháng mà giới công nghệ đã rỉ tai nhau về iPhone 7. Dưới đây là 6 phán đoán, đồn đại "có căn cứ nhất" về chiếc iPhone thế hệ tiếp theo, hãy cùng theo dõi.
1. Chống nước và chống bụi
Sau một tháng bộ đôi iPhone 6s/6s Plus ra mắt, nhiều người đã thực hiện những thử nghiệm khả năng bẻ cong (tai tiếng của iPhone 6) và khả năng chống nước. Bộ đôi này với thiết kế nhôm 7000 Series cứng cáp đã dễ dàng vượt qua được thử thách bẻ cong. Khả năng chống nước của bộ đôi này cũng rất đáng ngạc nhiên. Người dùng Youtube Zach Straley đã thử ngâm bộ đôi iPhone 6s/6s plus trong nước và thật đáng ngạc nhiên, chúng vẫn sống sót và hoạt động tốt sau 48 giờ đồng hồ “đi tắm”. iFixit đã khám phá ra bí mật của khả năng này là lớp keo chỉ 0.3mm phía trong viền của chúng.

Apple chưa bao giờ tuyên bố những chiếc iPhone thế hệ mới này có khả năng chống nước, nhưng có vẻ như họ đang âm thầm làm điều đó. Một nguồn tin đáng tin cậy đã thường có những phán đoán chính xác về iPhone – Mac Otakara nói rằng chiếc iPhone thế hệ tiếp theo “iPhone 7” sẽ có khả năng chống nước và chống bụi.
2. Tấm nền cảm ứng Glass-on-Glass/ Màn hình 4K Ultra HD
Nguồn tin từ Mac Otakara cũng cho biết Apple sẽ sử dụng trở lại tấm nền cảm ứng Glass-on-glass (G/G), cho phép tấm nền LED của thiết bị có thể đạt tới cảnh giới “hoàn toàn phẳng”. Điều này cũng có nghĩa là chiếc iPhone thế hệ kế tiếp sẽ không sử dụng bộ khung kim loại như chiếc iPhone 6s/6s Plus nữa. Nhờ việc chuyển sang sử dụng tấm nền cảm ứng này, việc sản xuất iPhone không viền màn hình sẽ không còn là điều khó khăn với Apple nữa. Công nghệ này đã từng được hãng sử dụng trên những chiếc iPhone, và bị thay thế bởi công nghệ in-cell từ chiếc iPhone 5 trở đi. Nhờ Glass-on-glass, chiếc “iPhone 7” khả năng cao sẽ có màn hình 4K Ultra HD. Một bản mẫu thử nghiệm tấm nền cảm ứng G/G đã được Corning và Asahi Glass gửi tới Apple.

Những suy đoán này cũng củng cố tin đồn Apple sẽ loại bỏ nút Home khỏi chiếc iPhone mới. 3D Touch mới đây theo Gene Munster là cách để Apple loại bỏ nút Home, giúp màn hình trở nên lớn hơn hoặc thu gọn thiết bị lại. Tuy nhiên, nếu bỏ nút Home Apple sẽ phải di chuyển cảm biến vân tay Touch ID đi chỗ khác, có thể là cạnh bên hoặc mặt sau. Tuy nhiên, khả năng Apple loại bỏ nút Home trên “iPhone 7” cũng chỉ 50-50.
3. Nâng cấp pin
Munster cho biết thời lượng pin trên chiếc “iPhone 7” và “iPhone 7 Plus” có thể cũng sẽ được cải thiện đáng kể. Hãy thử nhìn những chiếc Macbook, Apple gần như đã nâng thời lượng pin của chúng lên gấp đôi chỉ trong vài năm qua (từ khoảng hơn 5 tiếng lên gần 10 tiếng).

Về phần dung lượng pin, chiếc iPhone 6 có viên pin dung lượng là 1810mAh, 6 Plus là 2915 mAh, iPhone 6s là 1715 mAh và iPhone 6s Plus 32GB là 2750 mAh. Mặc dù có dung lượng pin thấp hơn nhưng khi so sánh với người tiền nhiệm, iPhone 6/6s vẫn có thời gian sử dụng tương đương. Điều này là nhờ vào bộ vi xử lý mới của Apple cùng hệ điều hành iOS 9 giúp tiết kiệm pin một cách hiệu quả.
4. Thiết kế mỏng hơn
Chiếc “iPhone 7” được kỳ vọng sẽ là một trong những chiếc iPhone mỏng nhất từng ra mắt. Với độ mỏng kỳ vọng ở khoảng 6-6.5mm, flagship mới của Apple sẽ mỏng hơn iPad Air 2 và iPod Touch Gen 6. So sánh với iPhone 6s – 7.1mm và iPhone 6s Plus – 7.3mm thì thiết bị mới này có vẻ sẽ mỏng hơn đáng kể. Phán đoán này được đưa ra bởi Ming-Chi Kuo, người từng thành công khi dự đoán chiếc Macbook Retina 12 inch từ trước khi nó ra mắt cả năm trời.

5. Sạc không dây
Tại thời điểm hiện tại, có hàng tá thiết bị chạy Android đã hỗ trợ sạc không dây trong khi Apple vẫn đứng ngoài. Lí do đến tận bây giờ chiếc iPhone vẫn không hỗ trợ sạc không dây chính là vỏ nhôm của nó. Phần lớn sản phẩm hỗ trợ sạc không dây hiện nay đều vẫn sử dụng vỏ nhựa, cho phép năng lượng truyền qua và tới được pin. Tuy nhiên Qualcomn gần đây đã giới thiệu bộ sạc không dây mới có thể hoạt động với thiết bị có vỏ kim loại, có khả năng sẽ hỗ trợ chiếc iPhone mới. Đầu tháng này, Apple cũng vừa nhận được bằng sáng chế về khả năng truyền tải năng lượng giữa các thiết bị điện tử. Điều này chứg minh Apple đang xem xét một cách nghiêm túc về công nghệ sạc không dây.

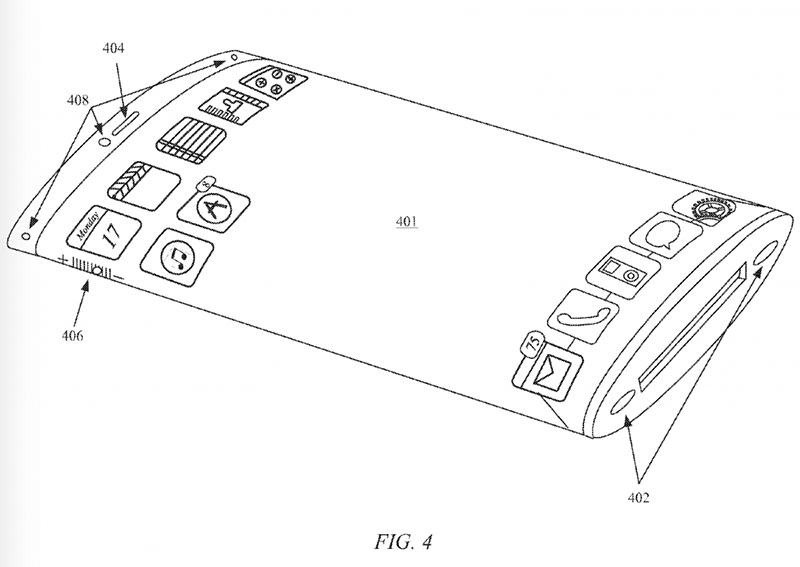
6. Màn hình cong cùng viền cạnh bên
Cách đây vài tháng, Apple đã nhận được bằng sáng chế cho thiết kế màn hình uốn cong trên thiết bị. Thú vị hơn, bức ảnh giải thích bằng sáng chế, lại không đi kèm nút Home. Thiết kế mới này cũng bao gồm “màn hình cạnh bên” với một số tính năng bên cạnh nút nguồn và âm lượng. Những tính năng nghe khá giống với những gì đang có trên những chiếc Samsung Galaxy Edge.

Bạn mong đợi điều gì ở chiếc iPhone thế hệ mới? Hãy cùng chia sẻ với mọi người ở phần bình luận!
Nguồn: Forbes
Xem thêm:
- Bằng sáng chế iPhone màn hình lồi được công bố
- 6 điểm nhấn trên thiết bị của Apple bị các đối thủ khác sao chép
ĐĂNG NHẬP
Hãy đăng nhập để comment, theo dõi các hồ sơ cá nhân và sử dụng dịch vụ nâng cao khác trên trang Tin Công Nghệ của
Thế Giới Di Động
Tất cả thông tin người dùng được bảo mật theo quy định của pháp luật Việt Nam. Khi bạn đăng nhập, bạn đồng ý với Các điều khoản sử dụng và Thoả thuận về cung cấp và sử dụng Mạng Xã Hội.