Apple vẫn đang phát triển công nghệ cảm biến vân tay Touch ID dưới màn hình

Mặc dù iPhone của Apple đã không đi kèm công nghệ Touch ID trong nhiều năm qua nhưng có nhiều báo cáo tin rằng công ty đang tìm cách đưa Touch ID trở lại. Các bằng sáng chế của Apple trong quá khứ đã chứng minh điều đó.
Gần đây, Văn phòng Sáng chế và Nhãn hiệu Hoa Kỳ đã công bố 2 bằng sáng chế của Apple liên quan đến công nghệ Touch ID.
Bằng sáng chế đầu tiên có tiêu đề: “Truyền ánh sáng qua màn hình, tiếp nhận tín hiệu thông qua các yếu tố vi quang”, mô tả các cảm biến quang học được nhúng bên dưới màn hình của thiết bị. Bằng sáng chế giúp thiết bị có thể “chụp ảnh hai chiều (2D) hoặc 3 chiều (3D) của một đối tượng ở gần sát với thiết bị”, ví dụ như vân tay.
Với cảm biến quang, máy thu hoặc máy phát được đặt phía sau màn hình, bằng sáng chế nói rằng "ánh sáng có thể được truyền hoặc nhận thông qua các khẩu độ mờ kéo dài từ bề mặt trước đến mặt sau của lớp kính màn hình thiết bị."

"Theo cách này, một máy phát, máy thu hoặc cảm biến quang có thể truyền hoặc nhận" thông qua "màn hình", bằng sáng chế ghi.
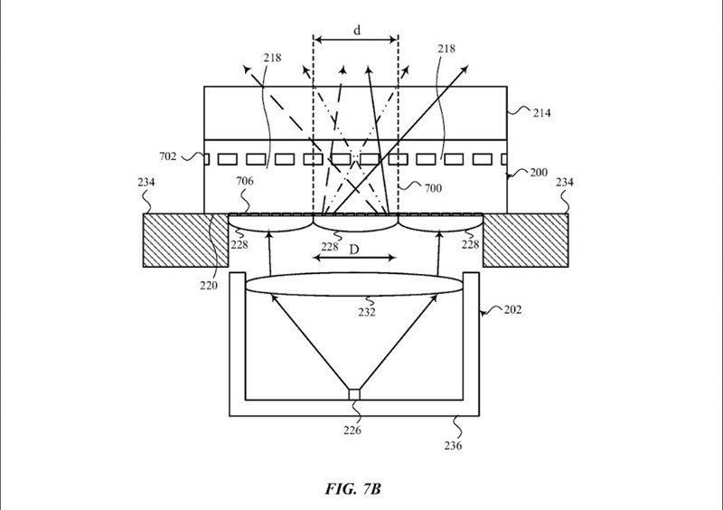
Bằng sáng chế thứ 2 có tiêu đề: “Hệ thống phát hiện dấu vân tay bằng quang học”, mô tả phương pháp bù nhiệt độ trong hệ thống phát hiện dấu vân tay bằng quang học.
Theo bằng sáng chế, để chống lại tác động của nhiệt độ trên màn hình OLED, bằng sáng chế sẽ đưa ra phương pháp để bù cho sự khác biệt về nhiệt độ giữa các tín hiệu.
Các phần khác của bằng sáng chế mô tả những thành phần như thông số kỹ thuật điện áp và cấu trúc thành phần cho cảm biến vân tay quang học được nhúng trong màn hình.

Hai nhà phát minh của bằng sáng chế này là Mohammed Yeke Yazdandoost và Christoph H. Krah. Yazdandoost trước đây đã làm việc về công nghệ hình ảnh sinh học và phát hiện cảm ứng. Ngoài ra, Krah đã được ghi tên trong các bằng sáng chế Touch ID tương tự.
Vào tháng 4/2020, một báo cáo từ chuỗi cung ứng cho thấy Apple có thể hợp tác với các nhà sản xuất cảm biến vân tay dưới màn hình. Trong khi nhà phân tích Ming-Chi Kuo dự đoán rằng, 1 chiếc iPhone với Touch ID ẩn dưới màn hình có thể xuất hiện vào năm 2021.
Apple hiện vẫn chưa đưa ra xác nhận nào, chúng ta cùng kiên nhẫn chờ thêm nhé. Còn bạn, bạn có thích 1 chiếc iPhone với Touch ID ẩn dưới màn hình không? Hay thích Face ID như hiện tại hơn?
Nguồn: Appleinsider
Xem thêm: Thấy kích thích chưa, Apple Watch Series 7 sẽ đi kèm với Touch ID ẩn dưới màn hình
ĐĂNG NHẬP
Hãy đăng nhập để comment, theo dõi các hồ sơ cá nhân và sử dụng dịch vụ nâng cao khác trên trang Tin Công Nghệ của
Thế Giới Di Động
Tất cả thông tin người dùng được bảo mật theo quy định của pháp luật Việt Nam. Khi bạn đăng nhập, bạn đồng ý với Các điều khoản sử dụng và Thoả thuận về cung cấp và sử dụng Mạng Xã Hội.