Dù gặp nhiều khó khăn ở mảng sản xuất smartphone trong thời gian qua nhưng Huawei vẫn được đồn đoán là sẽ cho ra mắt chiếc điện thoại gập mới mang tên Huawei Mate V. Vậy Huawei Mate V có gì mới? Huawei Mate V cấu hình ra sao? Huawei Mate V ra mắt khi nào? Huawei Mate V giá bao nhiêu? Cùng mình tìm hiểu qua bài viết bên dưới đây nha!
Lưu ý: Bài viết sẽ được cập nhật liên tục cho đến khi Huawei Mate V ra mắt chính thức. Các bạn nhớ theo dõi bài viết mỗi tuần nhé!
Xem thêm: Huawei sẽ cho ra mắt smartphone màn hình gập Mate V vào noel năm nay
Thiết kế Huawei Mate V gọn gàng hơn với dạng màn hình gập vỏ sò
Khác với Huawei Mate X được ra mắt vào cuối năm 2019 có thiết kế gập dạng quyển sách, Huawei Mate V có thể sẽ sở hữu thiết kế dạng gập vỏ sò gọn gàng hơn rất nhiều. Cá nhân mình đánh giá cao dạng thiết kế này hơn là kiểu gập của Mate X bởi vì sự nhỏ gọn và tiện dụng, rất giống phong cách thiết kế của dòng Z Flip đến từ nhà Samsung.

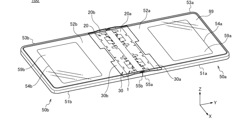
Theo nguồn tin của GSMArena, Zhaoli Technology – một công ty công nghệ có trụ sở tại Thượng Hải đã tiết lộ trong cuộc họp của các nhà đầu tư vào ngày 25/11 rằng họ đã bắt đầu sản xuất hàng loạt phần bản lề có thể gập lại trên smartphone mới cho một khách hàng. Zhaoli Technology cũng cho biết thêm phần bản lề trên thiết bị mới này sử dụng ít bộ phận hơn giúp tiết kiệm chi phí nhưng vẫn đảm bảo được chất lượng. Mặc dù tên khách hàng còn chưa được tiết lộ cụ thể nhưng nhiều người tin rằng đó chính là Huawei và phần bản lề này được thiết kế cho chiếc Mate V.

Nếu những thông tin ở trên là đúng sự thật thì mình đánh giá rất cao công nghệ sản xuất của Huawei cùng các đối tác của họ. Bởi vì dù họ đang đứng giữa vô vàn khó khăn nhưng họ vẫn có thể tối ưu và cho ra mắt một sản phẩm đủ các tiêu chí ‘ngon-bổ-rẻ’ trong phân khúc.

Về camera thì trang Gizmochina dự đoán rằng Huawei Mate V vẫn sẽ có hệ thống camera sau với ống kính lớn như trên dòng P50 mà chúng ta còn hay gọi vui là ‘camera bếp từ’. Ở bên dưới camera có thể sẽ xuất hiện một màn phụ hình tròn có kích thước tượng tự như ống kính camera. Hiện mình vẫn chưa rõ thông số chi tiết của camera này nhưng mình tin rằng camera của Huawei Mate V sẽ cho chất lượng ảnh chụp tốt.
Huawei Mate V cấu hình mạnh mẽ với chip Kirin 9000
Ở thời điểm hiện tại, các thông tin về cấu hình của Huawei Mate V vẫn còn là một ẩn số và có chăng chỉ là những phỏng đoán đến từ các trang tin công nghệ mà thôi. Theo một số nguồn tin mà mình tham khảo được thì khả năng cao Huawei Mate V sẽ được cung cấp sức mạnh từ con chip Kirin 9000, đây là bộ vi xử lý cây nhà lá vườn mạnh mẽ nhất của Huawei ở thời điểm hiện tại.

Thêm một điểm mà chúng ta cần quan tâm đó là liệu Huawei Mate V có được trang bị công nghệ 5G hay không? Cá nhân mình cho rằng khả năng cao Mate V vẫn chỉ hỗ trợ 4G giống như các sản phẩm tiền nhiệm vì lý do cấm vận. Tuy nhiên, đó chỉ dự đoán của bản thân mình mà thôi, còn thông số cấu hình chi tiết của Huawei Mate V thì các bạn hãy tiếp tục chờ các thông tin mới được chúng mình liên tục cập nhật trong bài viết này nhé.
Công nghệ tản nhiệt mới độc đáo trên Huawei Mate V
Bên cạnh điểm mới về bản lề thì Huawei Mate V năm nay còn có một trang bị mới hứa hẹn sẽ được rất nhiều người quan tâm, đó chính là hệ thống tản nhiệt mới. Cụ thể thì hệ thống tản nhiệt này có dạng ống trải dài theo thân máy, giúp mang lại cho Mate X những cải tiến đáng kể trong việc quản lý nhiệt độ cũng như tối ưu hóa hiệu năng.

Theo những hình ảnh ở trên do Letsgo Digital chia sẻ, chúng ta có thể thấy rằng hệ thống tản nhiệt của Huawei Mate V sẽ có dạng ống, có thể được làm từ các chất liệu như đồng, titan và nhôm. Thiết kế của hệ thống này cũng được cho là có sự tối ưu nhằm phù hợp với những chiếc điện thoại gập, gia tăng hiệu quả tản nhiệt tốt hơn và độ bền cao hơn. Từ đó mà Huawei Mate V có thể đáp ứng tốt cho nhu cầu sử dụng những tác vụ nặng mà không bị quá nhiệt dẫn đến sự sụt giảm về hiệu năng.
Huawei Mate V giá bao nhiêu? Huawei Mate V ra mắt khi nào?
Khá đáng tiếc là ở thời điểm hiện tại chúng ta vẫn chưa có thông tin gì về giá bán của Huawei Mate V. Tuy nhiên, căn cứ vào việc Huawei Mate V sở hữu thiết kế bản lề được tối ưu với chi phí thấp hơn thì mình nghĩ rằng chiếc điện thoại này cũng sẽ có mức giá tương đối mềm so các đối thủ trong phân khúc. Mặc dù vậy thì đây chỉ là dự đoán của mình thôi nên các bạn hãy cùng chờ đến thời điểm máy ra mắt chính thức để có đáp án nhé.

Còn về thời điểm ra mắt thì Huawei Mate V có thể sẽ được Huawei trình làng vào ngày 23/12 sắp tới, chính vì vậy các bạn hãy cùng mình đón chờ xem liệu Huawei Mate V có thực sự được trang bị những công nghệ nổi bật như thông tin nghe đồn ở trên hay không nhé!
Lưu ý: Bài viết sẽ được cập nhật liên tục cho đến khi Huawei Mate V ra mắt chính thức. Các bạn nhớ theo dõi bài viết mỗi tuần nhé!
Tin đồn
Xem đặc điểm nổi bật
- Camera sau: Đang cập nhật
- Camera trước: Đang cập nhật
À, các bạn có thể tham khảo thêm nhiều mẫu smartphone có giá hấp dẫn tại Thế Giới Di Động bằng cách click vào nút màu cam bên dưới nha!
MUA ĐIỆN THOẠI GIÁ HẤP DẪN TẠI TGDĐ
Xem thêm: Huawei sản xuất điện thoại gập thế hệ tiếp theo, ra mắt đầu năm sau
BÀI VIẾT LIÊN QUAN CỦA NGƯỜI DÙNG
-
HUAWEI Pura 90 Pro series được xác nhận ngày ra mắt: Thiết kế táo bạo, camera 200MP
3 ngày trước -
Chiếc đồng hồ thông minh HUAWEI WATCH GT Runner 2 có gì mới, sẽ phù hợp với ai?
04/04 -
Trên tay HUAWEI Band 11: Có 5 phiên bản màu sắc, màn hình sáng 1.500 nits, pin lớn 300 mAh
26/03 -
Trên tay HUAWEI Band 11 Pro: Thiết kế ấn tượng, màn hình 2.000 nits cùng viên pin lớn 300 mAh
24/03 -
HUAWEI Band 11 có những nâng cấp nào so với tiền nhiệm Band 10?
17/03 -
Các lý do HUAWEI Band 11 Pro trở thành smartband đáng mua trong tầm giá
12/03



ĐĂNG NHẬP
Hãy đăng nhập để comment, theo dõi các hồ sơ cá nhân và sử dụng dịch vụ nâng cao khác trên trang Tin Công Nghệ của
Thế Giới Di Động
Tất cả thông tin người dùng được bảo mật theo quy định của pháp luật Việt Nam. Khi bạn đăng nhập, bạn đồng ý với Các điều khoản sử dụng và Thoả thuận về cung cấp và sử dụng Mạng Xã Hội.