LG giành được bằng sáng chế về điện thoại có thể gập lại với hai pin

Ngày 5/4 vừa qua, LG Electronics đã giành được bằng sáng chế về việc mô tả điện thoại thông minh có thể gập lại được trang bị hai pin và hai jack cắm tai nghe 3.5 mm, thiết kế được công bố bởi Tổ chức Sở hữu Trí tuệ Thế giới.
Được biết, LG đã nộp đơn đăng ký thiết bị độc đáo này vào cuối tháng 9 năm 2016. Bằng sáng chế của LG mô tả hai biến thể của cùng một thiết kế cơ bản, tương tự như ZTE Axon M (hai màn hình có thể xoay được kết nối qua bản lề).

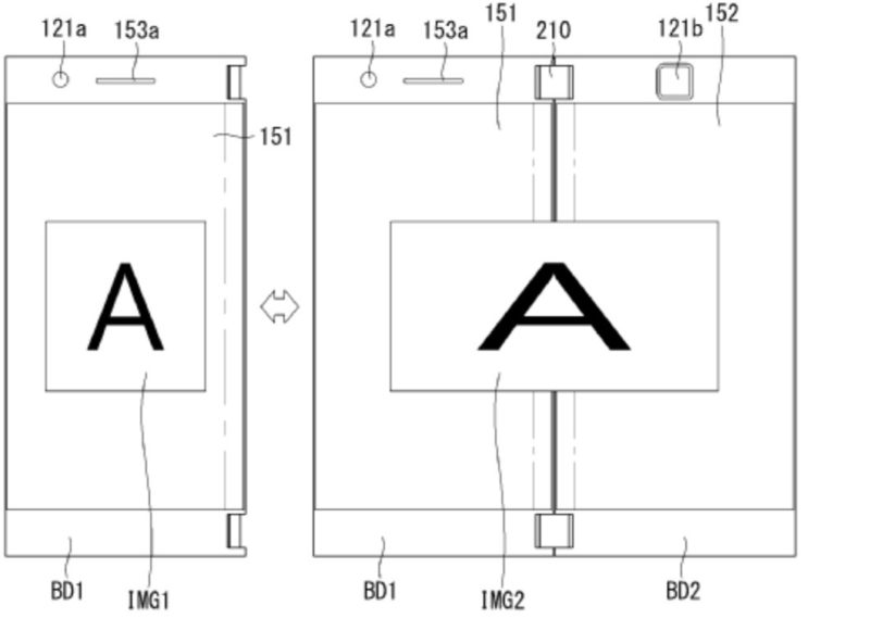
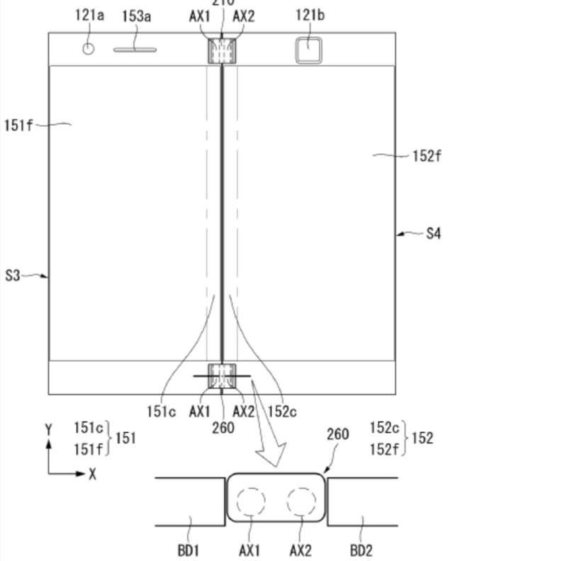
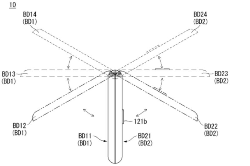
Không giống như điện thoại Android đầu tiên của ZTE, bằng sáng chế của LG là sự kết hợp của hai màn hình hiển thị tương đối độc lập, mỗi màn hình được trang bị pin và jack âm thanh 3.5 mm riêng.
Một trong hai màn hình có thể được trang bị camera kép và một máy quét vân tay quang học được tích hợp vào bảng điều khiển. Hiện tại vẫn chưa thể chắc rằng liệu hai pin có sử dụng đồng thời được hay không.

Theo AndroidHeadlines dẫn lại, thiết bị này có nhiều tính năng gợi nhớ đến chiếc Axon M của ZTE, bao gồm khả năng có hai màn hình hoạt động như một chiếc điện thoại bình thường khi xếp lại, chúng ta cũng có thể sử dụng một màn hình như một phần mở rộng.
Một trong hai màn hình là màn hình cong, trong khi màn hình còn lại là màn hình phẳng. LG sử dụng thiết kế như vậy để che giấu bản lề của điện thoại khi nó được gấp lại, màn hình cong sẽ di chuyển vào khoảng trống giữa hai tấm để giúp hình ảnh chuyển tiếp liền mạch hơn so với Axon M.

Một trong hai màn hình cũng có thể hoạt động như một bàn phím ở chế độ nằm ngang. Các cạnh của màn hình cong cũng có thể chuyển tiếp các thông báo và hiển thị thông tin ngay tức thời.

Cùng theo dõi những hình ảnh về bản mô tả của LG về phát minh độc đáo này nhé.







Hy vọng LG sẽ tiếp tục nghiên cứu, hoàn thiện và sớm ra mắt sản phẩm độc đáo này.
Xem thêm:
- Samsung vừa giành được bằng sáng chế về smartphone màn hình gập ở Mỹ
- Không chỉ Samsung, Huawei cũng đang nghiên cứu smartphone màn hình uốn dẻo


ĐĂNG NHẬP
Hãy đăng nhập để comment, theo dõi các hồ sơ cá nhân và sử dụng dịch vụ nâng cao khác trên trang Tin Công Nghệ của
Thế Giới Di Động
Tất cả thông tin người dùng được bảo mật theo quy định của pháp luật Việt Nam. Khi bạn đăng nhập, bạn đồng ý với Các điều khoản sử dụng và Thoả thuận về cung cấp và sử dụng Mạng Xã Hội.