LG, Samsung hãy chờ đấy, Apple cũng sắp có bút thông minh cực kỳ lợi hại
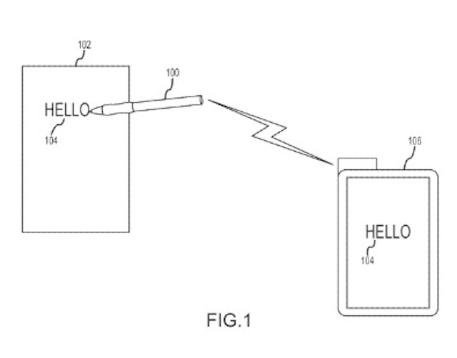
Apple đã nhận được bằng sáng chế cho một loại bút stylus mới giúp đưa văn bản viết tay, bản vẽ lên trên màn hình của một thiết bị như điện thoại thông minh hoặc máy tính bảng.
Đây là một phụ kiện có thể có ích trong một lớp học vì nếu một giáo viên sử dụng bút stylus này trên một tấm bảng trong lớp thì một bản sao chính xác các ghi chú trên bảng có thể được truyền đến máy tính bảng của học sinh.


Bằng sáng chế bút thông minh của Apple
Cây bút này cũng có ngòi hoán đổi cho phép người dùng ghi bằng mực hoặc các vật liệu khác. Một phiên bản điện dung của bút stylus mới cũng được đề cập. Cơ chế hoạt động của bút Stylus Apple cũng khá giống với bút S-Pen của Samsung khi nó sẽ được kích hoạt nếu rút ra khỏi máy, khi mũi của nó chạm vào giấy, hoặc khi nó được bật bằng tay bởi người sử dụng.
Bằng sáng chế bút mới của Apple cũng đã được đệ trình trong năm 2010, trong đó nói rằng bút stylus này có khả năng được sản xuất bởi chính Apple và chỉ dành cho iPhone và iPad.

Apple sẽ phải phá vỡ nhiều truyền thống nếu họ đưa ra một bút stylus cho thiết bị của mình nhưng dẫu sao Samsung cũng đã rất thành công với bút S-Pen và cả LG cũng muốn có một cây bút G Pen thông minh thì Apple cũng nên có một thiết bị như vậy.
Thegioididong (Theo PhoneArena)



ĐĂNG NHẬP
Hãy đăng nhập để comment, theo dõi các hồ sơ cá nhân và sử dụng dịch vụ nâng cao khác trên trang Tin Công Nghệ của
Thế Giới Di Động
Tất cả thông tin người dùng được bảo mật theo quy định của pháp luật Việt Nam. Khi bạn đăng nhập, bạn đồng ý với Các điều khoản sử dụng và Thoả thuận về cung cấp và sử dụng Mạng Xã Hội.