Sau smartphone màn hình cuộn, OPPO đang nghĩ tới việc ra mắt một chiếc điện thoại với module camera có thể tháo rời

Gần đây, OPPO đã nộp bằng sáng chế cho nhiều mẫu smartphone với thiết kế khác nhau. Thậm chí hãng còn giới thiệu một mẫu điện thoại ý tưởng màn hình cuộn mang tên OPPO X 2021. Bây giờ, hãng đang nghĩ tới smartphone với module máy ảnh có thể tháo rời.
Bằng sáng chế này đã được OPPO đệ trình lên WIPO (Tổ chức Sở hữu Trí tuệ Thế giới), nhưng nguồn tin không đề cập đến thời gian nộp đơn và công bố bằng sáng chế này.

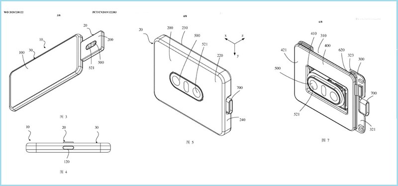
Nói về thiết kế, chiếc điện thoại được phác thảo trong bằng sáng chế có màn hình tràn viền, không có notch hay lỗ khoét nào. Vì vậy, nhiều khả năng máy sẽ sử dụng camera selfie ẩn dưới màn hình. Ngoài ra, chiếc smartphone này cũng không hề có nút bấm vật lý nào, thế nên hình ảnh phác thảo chủ yếu để minh họa, chú trọng nhiều hơn tới phần module camera tháo rời.

Module camera mặt sau có 2 ống kính và đèn flash LED ở chính giữa, kết nối với smartphone thông qua cổng USB-C. Phần module camera này cũng có thể được bẻ gập lên trên 90 độ, vì vậy, máy ảnh sau cũng có thể trở thành camera selfie nếu cần thiết.

Bạn thấy ý tưởng của chiếc smartphone với camera tháo rời này thế nào?
Nguồn: Gizmochina



ĐĂNG NHẬP
Hãy đăng nhập để comment, theo dõi các hồ sơ cá nhân và sử dụng dịch vụ nâng cao khác trên trang Tin Công Nghệ của
Thế Giới Di Động
Tất cả thông tin người dùng được bảo mật theo quy định của pháp luật Việt Nam. Khi bạn đăng nhập, bạn đồng ý với Các điều khoản sử dụng và Thoả thuận về cung cấp và sử dụng Mạng Xã Hội.