Samsung sắp tham gia vào thị trường máy trợ thính?

Những tin đồn xung quanh việc Samsung sẽ tham gia vào thị trường máy trợ thính đã được truyền tai trong một thời gian khá dài. Và hôm nay, thông tin này đã được xác nhận. Sản phẩm đầu tiên của hãng đã lộ diện, đó là mẫu máy trợ thính hỗ trợ kết nối Bluetooth có mã là SM-R790.
Trang web chuyên cung cấp tin về Samsung là sammobile.com vừa cho biết gã khổng lồ điện tử ở Hàn Quốc đã đăng ký bản quyền một sản phẩm máy trợ thính tại nước này. Trong bản đăng ký có một số tài liệu tham khảo cùng với một số mô tả về sản phẩm.
Mẫu máy trợ thình này có mã là SM-R790 và nó đã xuất hiện trên cơ sở dữ liệu của Bluetooth Special Interest Group (SIG). Mẫu máy này được Samsung gọi là thiết bị trợ thính Bluetooth. Tên gọi của sản phẩm khiến nhiều người, ngay cả mình cũng thắc mắc vì sao máy trợ thình lại cần phải sử dụng Bluetooth. Và nếu các bạn cũng thắc mắc như mình thì hãy cùng tiếp tục xem Samsung giải thích về công dụng của Bluetooth trong phần dưới.


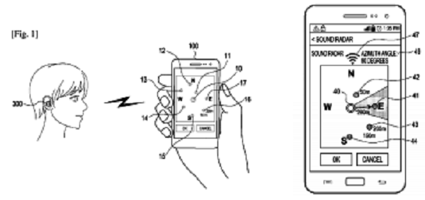
Theo Samsung thì sản phẩm này đi kèm với một phần mềm hỗ trợ có thể được cài đặt trên smartphone gọi là Sound Radar. Phần mềm này sẽ kết nối với máy trợ thính và cho phép người dùng chọn nguồn âm thanh ưu tiên mà mình muốn nghe. Đáng tiếc là mô tả về phần mềm này khá mơ hồ và chưa rõ hiệu quả thực tế. Theo mình nghĩ, phần mềm này sẽ lọc bớt những âm thanh không cần thiết để ưu tiên những âm thanh mà người dùng quan tâm, ví dụ như lọc bớt những âm thanh từ phía ngoài đường và ưu tiên âm thanh phát ra từ Tivi chẳng hạn.
Nói chung, những chi tiết, thông số cũng như hình dáng về thiết bị trợ thính đầu tiên này của Samsung vẫn còn trong vòng bí ẩn nhưng mình tin đây sẽ là một sản phẩm thành công, ít nhất là về mặt chăm sóc cho cuộc sống con người.



ĐĂNG NHẬP
Hãy đăng nhập để comment, theo dõi các hồ sơ cá nhân và sử dụng dịch vụ nâng cao khác trên trang Tin Công Nghệ của
Thế Giới Di Động
Tất cả thông tin người dùng được bảo mật theo quy định của pháp luật Việt Nam. Khi bạn đăng nhập, bạn đồng ý với Các điều khoản sử dụng và Thoả thuận về cung cấp và sử dụng Mạng Xã Hội.