Tiếp tục có thêm manh mối về chiếc smartphone bí ẩn của Microsoft

Kể từ đầu năm, chúng ta đã thấy một vài bằng sáng chế của Microsoft có liên quan đến chiếc điện thoại Surface Phone. Bây giờ, thêm một đơn xin cấp bằng sáng chế mới nhất có liên quan đến Surface Phone đã được công bố vào hôm thứ năm, mặc dù nó đã được đệ trình lên USPTO vào tháng 2 năm 2016.
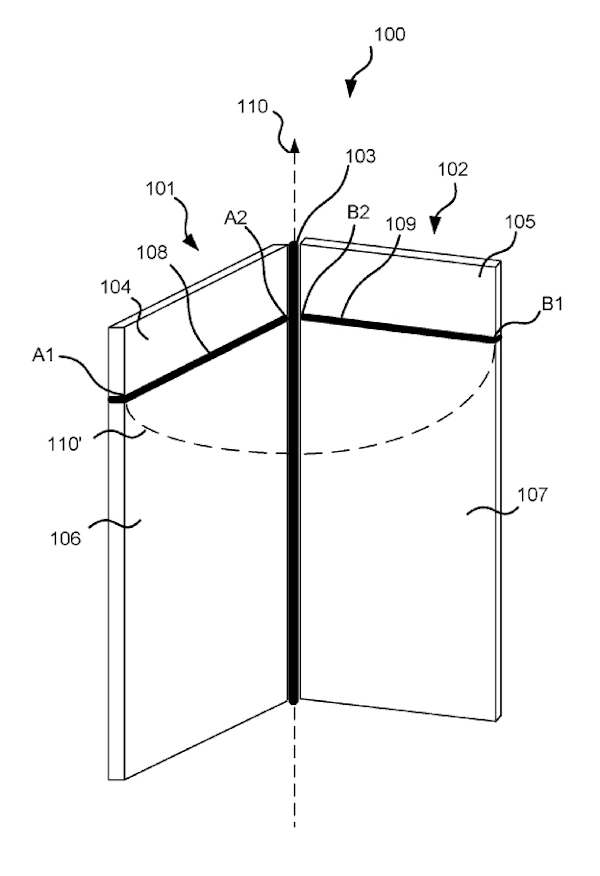
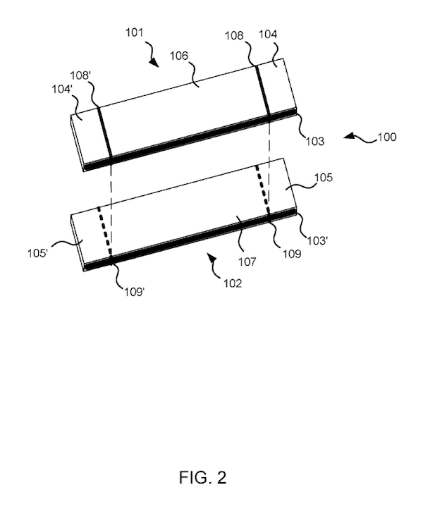
Theo PhoneArena, bằng sáng chế này có tựa đề "Vỏ bảo vệ có chức năng Ăng ten" cho thấy một chiếc vỏ bảo vệ điện thoại có các đường dẫn bằng kim loại đóng vai trò như Ăng ten của điện thoại.
Bởi vì chiếc điện thoại này sẽ xoay quanh bản lề ở giữa nên người dùng sẽ không gây nhiễu hoặc làm ảnh hưởng đến ăng ten khi tay của họ chạm vào ăng ten. Thậm chí khi họ vô tình chạm vào, hệ thống trên điện thoại sẽ cảnh báo họ.


Người đứng đằng sau bằng sáng chế này là Antti Karilainen, một chuyên gia về ăng ten, người đã từng làm việc cho một số dự án ăng-ten và điện thoại di động tại Microsoft.
Tuy nhiên cũng như nhiều bằng sáng chế trước đây, chúng ta không thể nào biết được khi nào công nghệ này trở thành sự thật và nó có dùng cho Surface Phone hay không.
Xem thêm: Rò rỉ hình ảnh Surface Phone, màn hình gập được 180 độ


ĐĂNG NHẬP
Hãy đăng nhập để comment, theo dõi các hồ sơ cá nhân và sử dụng dịch vụ nâng cao khác trên trang Tin Công Nghệ của
Thế Giới Di Động
Tất cả thông tin người dùng được bảo mật theo quy định của pháp luật Việt Nam. Khi bạn đăng nhập, bạn đồng ý với Các điều khoản sử dụng và Thoả thuận về cung cấp và sử dụng Mạng Xã Hội.