Vũ khí bí mật của camera trên iPhone 6 lộ diện
Những tin đồn về việc Apple sẽ giữ nguyên độ phân giải trên camera của iPhone 6 đã làm cho nhiều người thất vọng, tuy nhiên một vài bằng sáng chế rò rỉ gần đây của hãng đã cho thấy camera trên iPhone mới sẽ không hề tầm thường.
Số “chấm” cao không phải là yếu tố quyết định để có một bức hình đẹp, có lẽ Apple cũng đã hiểu điều này nên hãng đã quyết định nâng cấp các yếu tố quan trọng khác thay vì chạy đua độ phân giải của camera.

iPhone mới sẽ có thiết kế camera kiểu mới
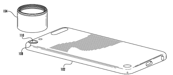
Trong một vài bằng sáng chế mới rò rỉ gần đây của mình, Apple được cho là đang sản xuất một loại camera mới trên smartphone có thể thay đổi được ống kính phù hợp với nhu cầu của người chụp. Loại camera này được thiết kế với một cơ chế khớp nối thông qua lực từ tính cho phép người dùng thay đổi được các ống kính trên camera dễ dàng hơn so với cách vặn thông thường.
Sáng chế mới này của Apple khá phù hợp với một số tin đồn cho thấy iPhone mới sẽ có hệ thống camera hơi nhô ra thay vì nằm sát vào bề mặt như truyền thống.
Một vài bức ảnh mô tả bằng sáng chế mới trên camera của Apple:



Dĩ nhiên Apple không có bất kỳ bình luận gì về các tin đồn này nhưng có lẽ đây mới thực sự là vũ khí bí mật của camera trên iPhone mới khi mà Táo Khuyết quyết định dừng cuộc đua độ phân giải.

ĐĂNG NHẬP
Hãy đăng nhập để comment, theo dõi các hồ sơ cá nhân và sử dụng dịch vụ nâng cao khác trên trang Tin Công Nghệ của
Thế Giới Di Động
Tất cả thông tin người dùng được bảo mật theo quy định của pháp luật Việt Nam. Khi bạn đăng nhập, bạn đồng ý với Các điều khoản sử dụng và Thoả thuận về cung cấp và sử dụng Mạng Xã Hội.