Sony sắp vào cuộc đua thiết bị thực tế ảo bằng găng tay đầy quyền năng

Với sự phát triển nhanh chóng của các thiết bị kính thực tế ảo, các hãng như HTC, Samsung đều đã cho ra mắt thiết bị của mình. Google cũng đã sẵn sàng cho thiết bị của mình vào sự kiện Google I/O sắp tới đây. Có vẻ Sony cũng đã vào cuộc đua khi rục rịch nộp bằng sáng chế găng tay tương tác với vật thể thực tế ảo.
Xem thêm: Google đã sẵn sàng cho chiếc kính thực tế ảo mới, cạnh tranh Gear VR
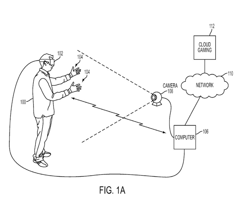
Theo nguồn tin từ trang Eurogamer, chiếc găng tay độc đáo này sử dụng các cảm biến để theo dõi chuyển động của tay người dùng và cho phép người dùng có thể thấy bàn tay của họ thông qua kính thực tế ảo, đồng thời thiết bị này còn có khả năng giúp người dùng tương tác với các vật thể ảo giống như ngoài đời thật.



Qua những hình ảnh trên, ta thấy thiết bị có thể được gán những chức năng nhất định như cầm súng, cầm hoa hoặc cầm gươm tùy vào việc sử dụng bàn tay. Hãng này còn cho biết rằng: “Chiếc găng tay này có thể sử dụng trong việc chơi game, tuy nhiên nó cao hơn tay cầm chơi game một bậc, thiết bị này có thể giúp người dùng giao tiếp với các vật thể ảo hiển thị trước mắt người dùng.” Theo những thông tin rò rỉ, thiết bị còn có một module có khả năng thu thập các thông tin từ cảm biến và xử lý dữ liệu.
Tuy cách thức hoạt động của thiết bị này đã được trình bày khá rõ, nhưng vẫn chưa có bất kỳ thông tin hay hình ảnh nào về một thiết bị thử nghiệm cụ thể. Hy vọng Sony sẽ sớm thử nghiệm và sớm công bố thiết bị này để những người yêu thích công nghệ có cơ hội trải nghiệm công nghệ tuyệt vời này.
Xem thêm:
- [MWC 2016] Kính thực tế ảo HTC Vive sẽ lên kệ vào đầu tháng tư
- Sony sẽ trình làng thiết bị di động all-in-one độc đáo vào năm...?
ĐĂNG NHẬP
Hãy đăng nhập để comment, theo dõi các hồ sơ cá nhân và sử dụng dịch vụ nâng cao khác trên trang Tin Công Nghệ của
Thế Giới Di Động
Tất cả thông tin người dùng được bảo mật theo quy định của pháp luật Việt Nam. Khi bạn đăng nhập, bạn đồng ý với Các điều khoản sử dụng và Thoả thuận về cung cấp và sử dụng Mạng Xã Hội.